EasyManua.ls Logo

Fujitsu MCM3064SS - Interface Signal Definition; Figure 7.2 Interface Signals

Fujitsu MCM3064SS
170 pages
Print Icon
To Next Page IconTo Next Page
To Next Page IconTo Next Page
To Previous Page IconTo Previous Page
To Previous Page IconTo Previous Page
Loading...
7.2 Interface Signal Definition
C156-E228-02EN 7-3
7.2 Interface Signal Definition
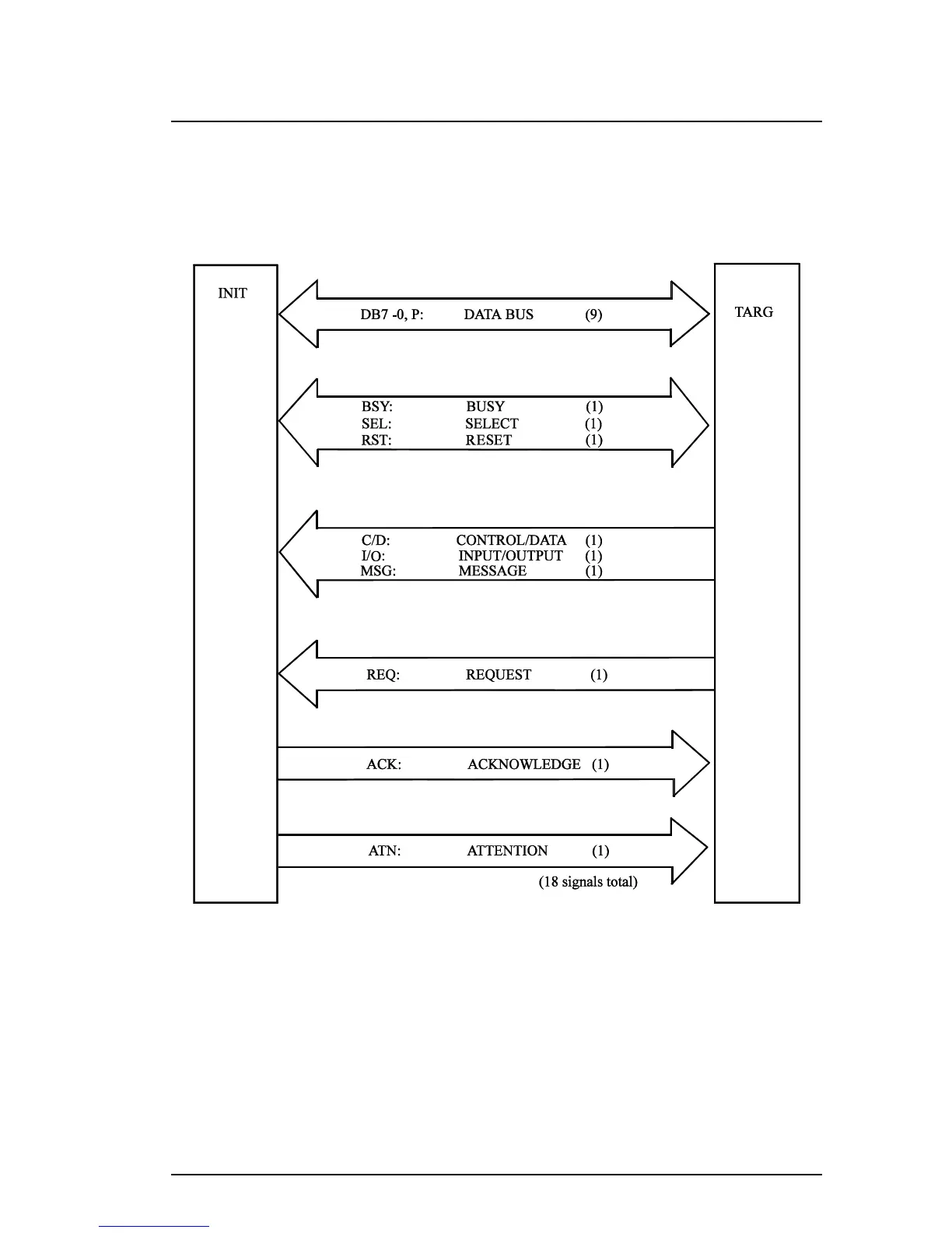
There is a total of eighteen signals. Nine are used for control and nine are used for
data (1 byte data + 1 odd parity bit). Figure 7.2 shows interface signal lines.
Figure 7.2 Interface signals

Table of Contents