EasyManua.ls Logo

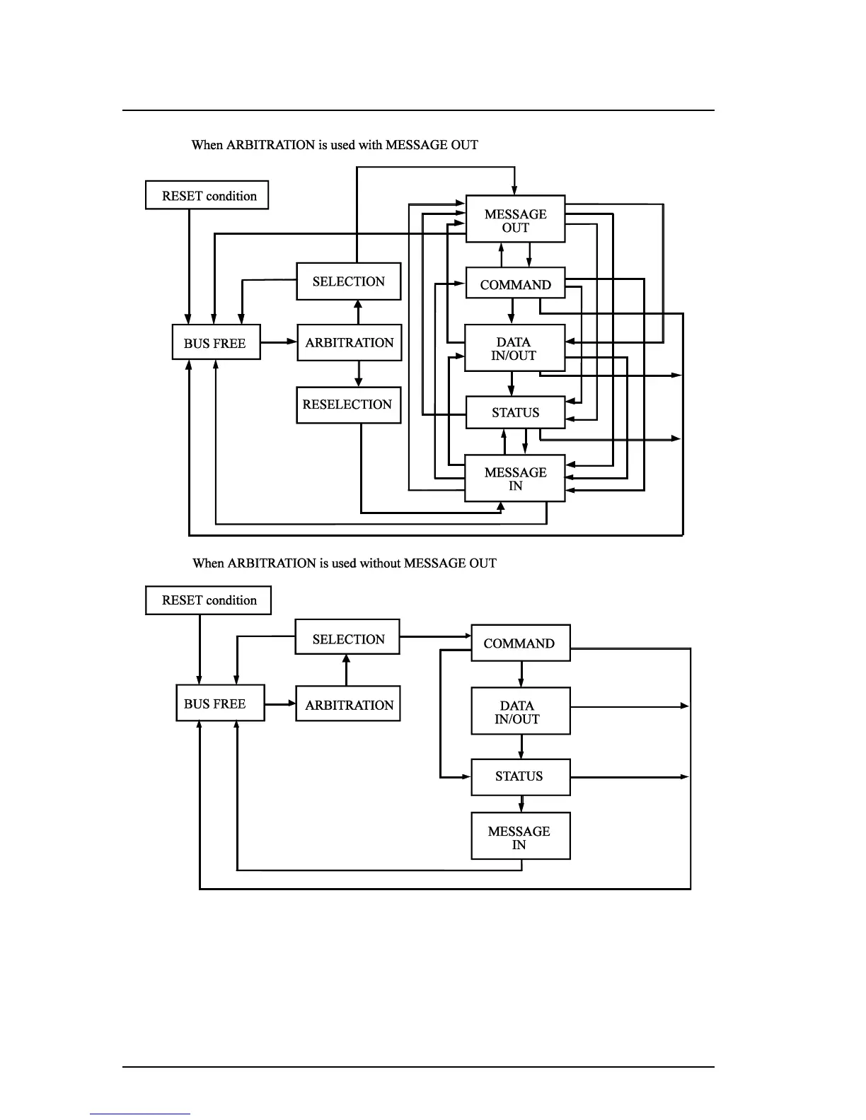
Fujitsu MCM3064SS - Figure 7.21 Bus Phase Sequence

Fujitsu MCM3064SS
170 pages
Print Icon
To Next Page IconTo Next Page
To Next Page IconTo Next Page
To Previous Page IconTo Previous Page
To Previous Page IconTo Previous Page
Loading...
SCSI BUS
7-46 C156-E228-02EN
Figure 7.21 Bus phase sequence (1 of 2)

Table of Contents

Related product manuals