EasyManua.ls Logo

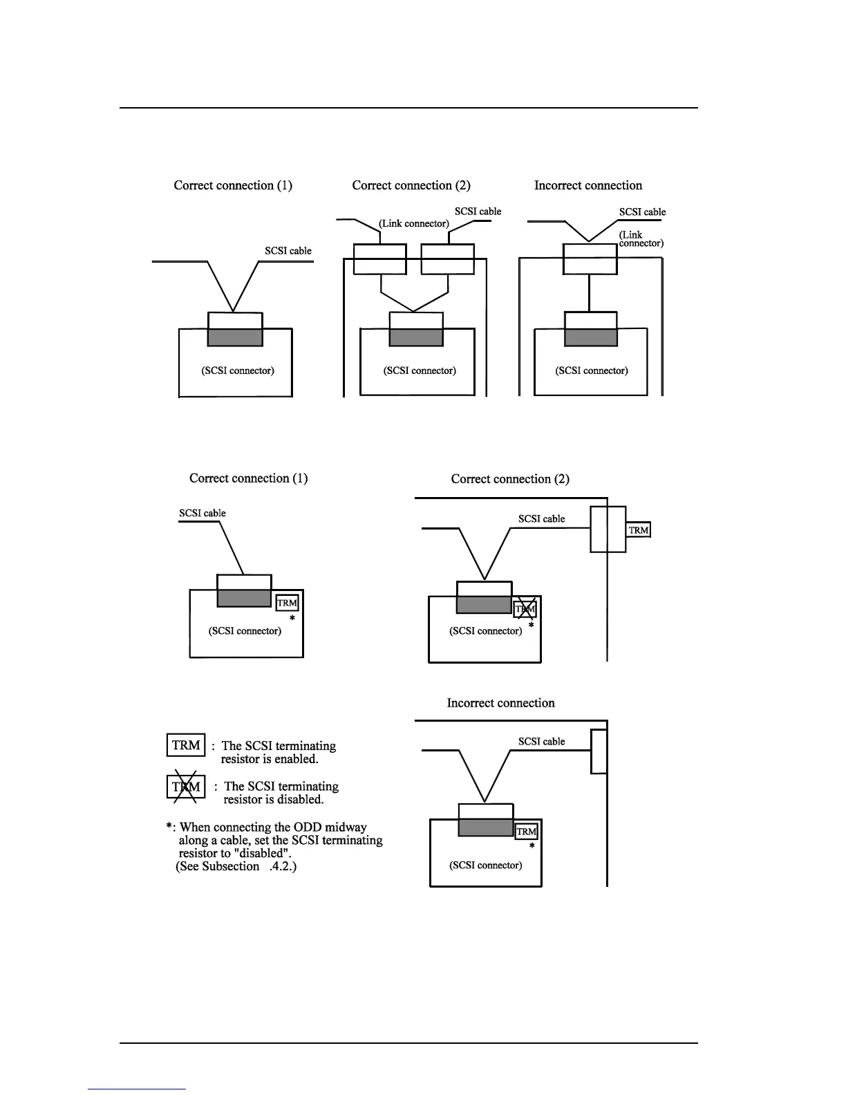
Fujitsu MCM3064SS - Figure 7.7 Connection of Interface Cable

Fujitsu MCM3064SS
170 pages
Print Icon
To Next Page IconTo Next Page
To Next Page IconTo Next Page
To Previous Page IconTo Previous Page
To Previous Page IconTo Previous Page
Loading...
SCSI BUS
7-10 C156-E228-02EN
(a) Connection to a middle point of the cable
(b) Connection to the end of the cable
7
Figure 7.7 Connection of interface cable

Table of Contents

Related product manuals