EasyManua.ls Logo

Fujitsu MCM3064SS - Connection Modes; Figure 4.3 SCSI Bus Connection Modes

Fujitsu MCM3064SS
170 pages
Print Icon
To Next Page IconTo Next Page
To Next Page IconTo Next Page
To Previous Page IconTo Previous Page
To Previous Page IconTo Previous Page
Loading...
Installation
4-4 C156-E228-02EN
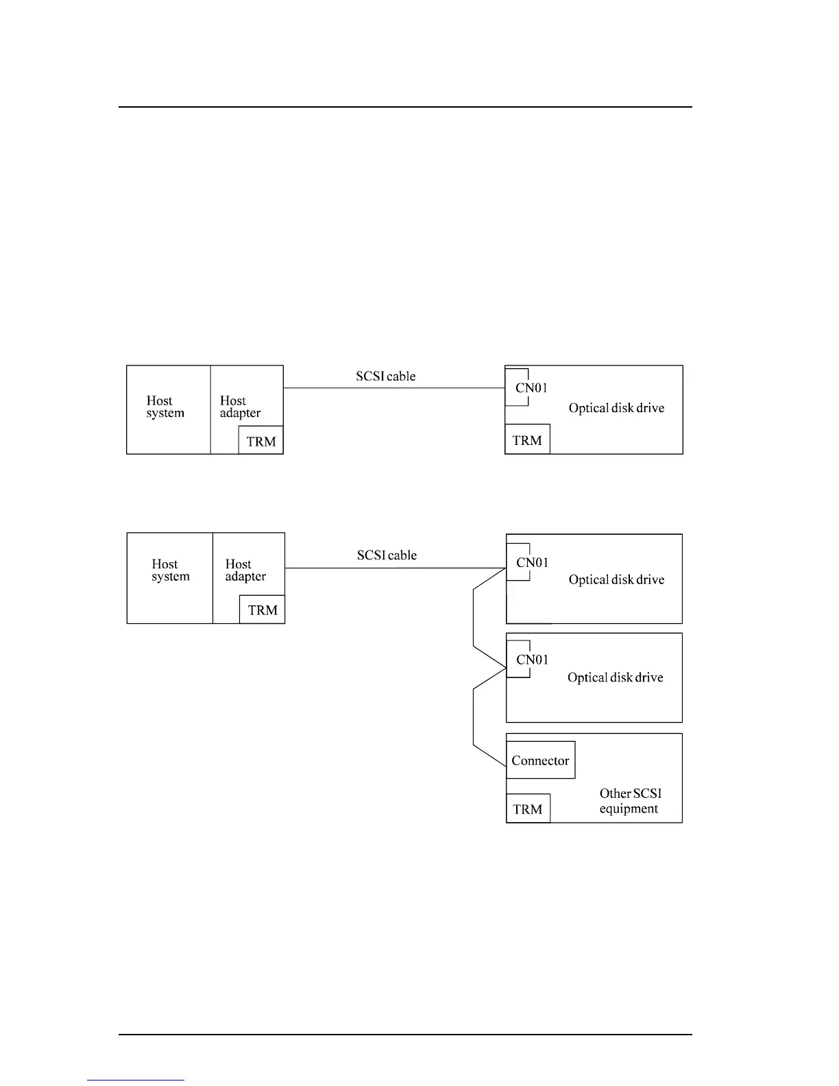
4.2 Connection Modes
Figure 4.3 shows examples of connections between the host system and the optical
disk drive. Up to eight devices including the host adapter, optical disk drive, and
other SCSI equipment can be connected to the SCSI bus in arbitrary combinations.
Install a terminating resistor on the SCSI devices connected to either end of the
SCSI cable.
See Section 3.4 for the cable connection requirements and power cable
connections.
(a) Connecting one optical disk drive
Figure 4.3 SCSI bus connection modes (1 of 2)
(b) Connecting more than one optical disk drive (single host)

Table of Contents

Related product manuals