EasyManua.ls Logo

FUNAI LF320EM5F - Digital Signal Process Block Diagram (Type E)

FUNAI LF320EM5F
143 pages
Print Icon
To Next Page IconTo Next Page
To Next Page IconTo Next Page
To Previous Page IconTo Previous Page
To Previous Page IconTo Previous Page
Loading...
9-18
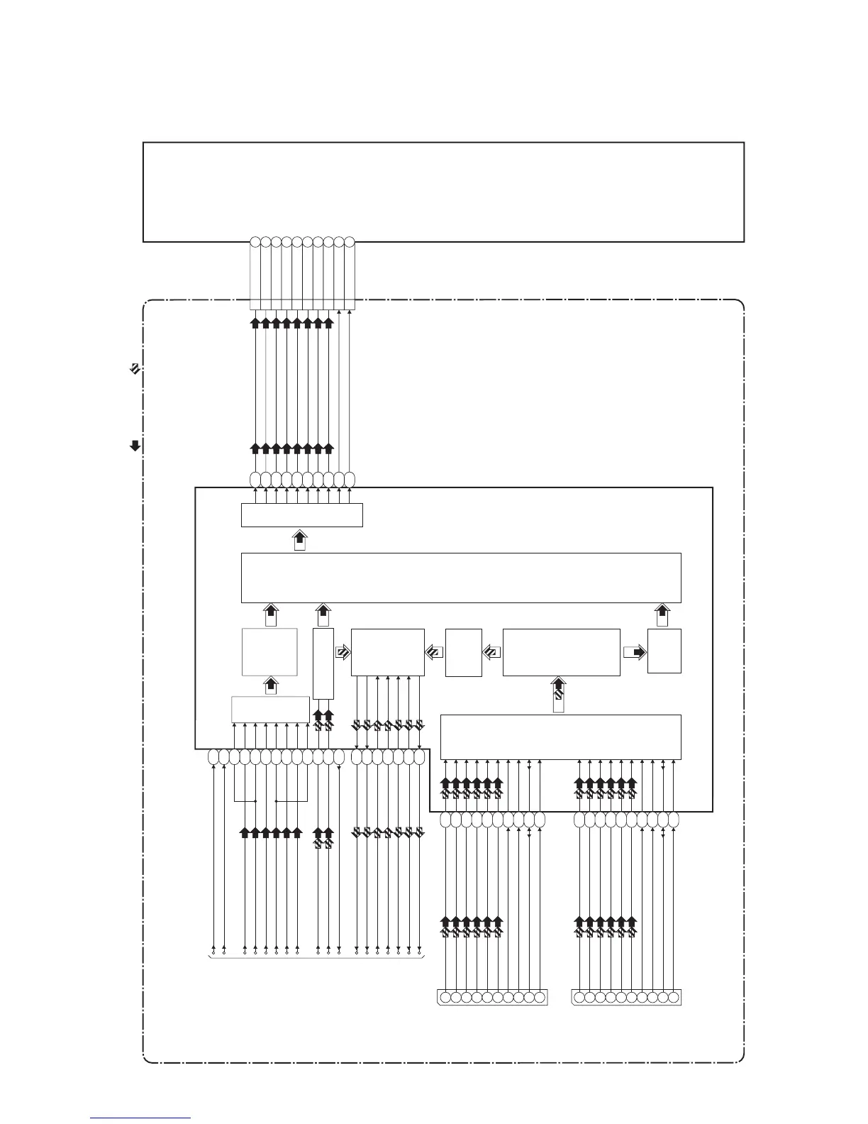
3. Digital Signal Process Block Diagram
FL14.10EBLD
DIGITAL MAIN CBA UNIT
IC3101 (DIGITAL SIGNAL PROCESS)
CN3102
DIGITAL
SIGNAL
PROCESS
HDMI-IN1
HDMI-IN2
JK3007
DATA0(+)
DATA0(-)
DATA1(+)
DATA1(-)
DATA2(+)
DATA2(-)
HDMI-DATA
HDMI-CLOCK
7
9
4
6
1
3
10
12
16
15
7
9
4
6
1
3
10
12
16
15
JK3003
CLOCK(+)
CLOCK(-)
AUDIO
DECODER
HDMI
I/F
HDMI SW
TO VIDEO/AUDIO
BLOCK DIAGRAM
VIDEO
DECODER
VIDEO SIGNAL
AUDIO SIGNAL
A/D
CONVERTER
SW
VGA-R-IN
VGA-G-IN
VGA-B-IN
COM-VIDEO-Y/VIDEO-IN
COM-VIDEO-Pb-IN
COM-VIDEO-Pr-IN
DEMODULATOR
/MPEG DECODER
AUDIO I/F
DIF-OUT1
DIF-OUT2
IF-AGC
IF-AGC
VGA-HSYNC
VGA-VSYNC
VGA-HSYNC
VGA-VSYNC
LVDS
TX
AMP(L)-OUT
AMP(R)-OUT
SPDIF
AUDIO(L)-IN
AUDIO(R)-IN
HP(L)
HP(R)
DATA0(+)
DATA0(-)
DATA1(+)
DATA1(-)
DATA2(+)
DATA2(-)
HDMI-DATA
HDMI-CLOCK
CLOCK(+)
CLOCK(-)
14
20
19
17
16
15
24
22
26
23
46
47
35
34
44
45
62
156
155
2
1
4
3
154
153
139
140
148
147
150
149
152
151
146
145
135
134
50
49
48
90
89
88
84
83
82
81
86
85
91
12
13
15
16
18
19
21
22
24
25
RX0(-)
RX0(+)
RX1(-)
RX1(+)
RX2(-)
RX2(+)
RXCLK(-)
RXCLK(+)
RX3(-)
RX3(+)
LCD PANEL
ASSEMBLY

Table of Contents

Related product manuals