EasyManua.ls Logo

GE Multilin 750 - S5 Protection setpoints

GE Multilin 750
58 pages
Print Icon
To Next Page IconTo Next Page
To Next Page IconTo Next Page
To Previous Page IconTo Previous Page
To Previous Page IconTo Previous Page
Loading...
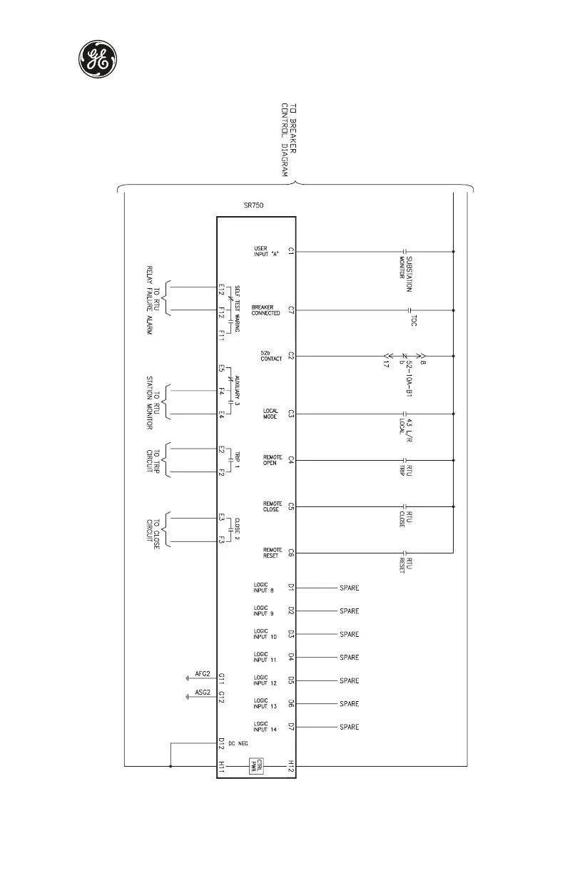
Application example
750/760 Quick Reference Guide 39
Figure 21: Typical relay control diagram

Related product manuals