EasyManua.ls Logo

Graco TI12552a - Page 63

Graco TI12552a
134 pages
Print Icon
To Next Page IconTo Next Page
To Next Page IconTo Next Page
To Previous Page IconTo Previous Page
To Previous Page IconTo Previous Page
Loading...
ProMix 2KS Integration Specifics
312779E 63
F
IG
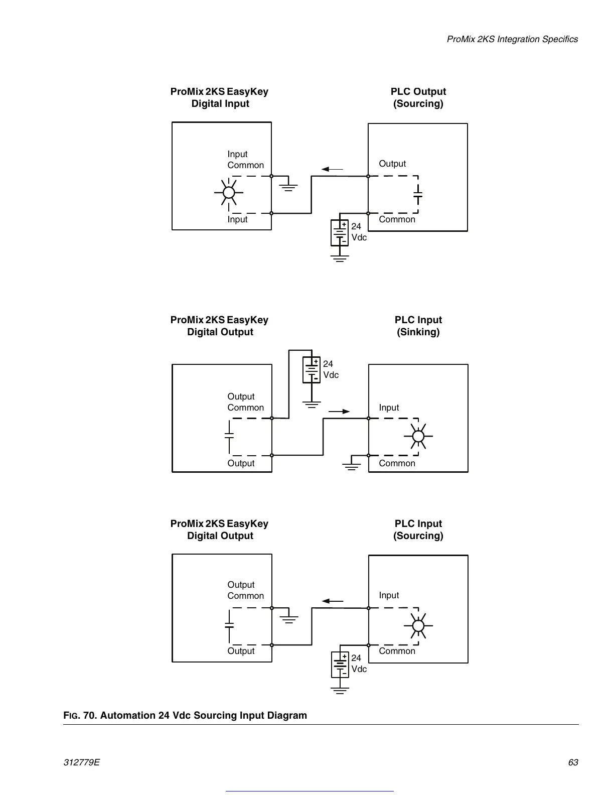
. 70. Automation 24 Vdc Sourcing Input Diagram
24
Vdc
24
Vdc
24
Vdc
Input
Output
Output
Common
Common
Input
CommonOutput
Output
Common
Output
CommonInput
Input
Common
P
ro
Mi
x
2KS
E
asy
K
ey
Digital Input
ProMix 2KS EasyKey
Digital Output
ProMix 2KS EasyKey
Digital Output
PLC Input
(Sourcing)
PLC Input
(Sinking)
PLC
O
u
t
pu
t
(Sourcing)
Get other manuals https://www.bkmanuals.com

Table of Contents

Other manuals for Graco TI12552a

Related product manuals