EasyManua.ls Logo

Graco TI12552a - Page 94

Graco TI12552a
134 pages
Print Icon
To Next Page IconTo Next Page
To Next Page IconTo Next Page
To Previous Page IconTo Previous Page
To Previous Page IconTo Previous Page
Loading...
System Operation
94 312779E
F
IG
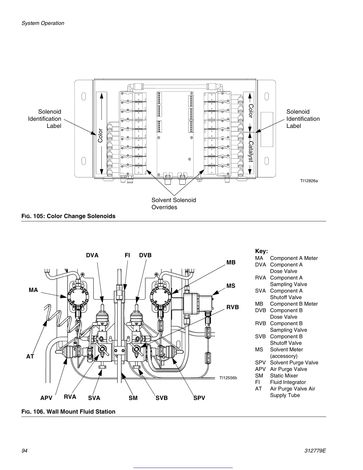
. 105: Color Change Solenoids
TI12826a
Solvent Solenoid
Overrides
Solenoid
Identification
Label
Solenoid
Identification
Label
Color
Color Catalyst
F
IG
. 106. Wall Mount Fluid Station
Key:
MA Component A Meter
DVA Component A
Dose Valve
RVA Component A
Sampling Valve
SVA Component A
Shutoff Valve
MB Component B Meter
DVB Component B
Dose Valve
RVB Component B
Sampling Valve
SVB Component B
Shutoff Valve
MS Solvent Meter
(accessory)
SPV Solvent Purge Valve
APV Air Purge Valve
SM Static Mixer
FI Fluid Integrator
AT Air Purge Valve Air
Supply Tube
TI12556b
MA
MB
DVB
MS
SPV
DVA
APV
SM
FI
SVA SVB
RVB
AT
RVA
Get other manuals https://www.bkmanuals.com

Table of Contents

Other manuals for Graco TI12552a

Related product manuals