EasyManua.ls Logo

Hadeco Smartdop 45 - Block Diagram

Hadeco Smartdop 45
64 pages
Print Icon
To Next Page IconTo Next Page
To Next Page IconTo Next Page
To Previous Page IconTo Previous Page
To Previous Page IconTo Previous Page
Loading...
52
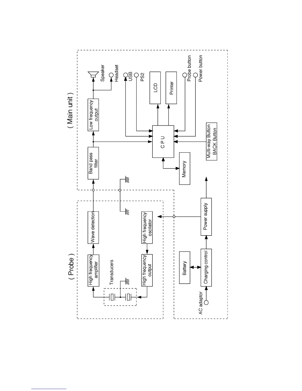
6-2. Block diagram

Table of Contents

Related product manuals