EasyManua.ls Logo

HER CHEE ATV-600 - Page 37

HER CHEE ATV-600
235 pages
Print Icon
To Next Page IconTo Next Page
To Next Page IconTo Next Page
To Previous Page IconTo Previous Page
To Previous Page IconTo Previous Page
Loading...
Ch. 3 LUBRICATION SYSTEM
3-3
Precautions in Operation
General Information
This chapter contains maintenance operation for the
engine oil pump and gear oil replacement.
Specifications
Engine oil capacity Dis-assembly: 3000 c.c.
Replacement: 2400 c.c.
Replacement with oil filter replaced: 2700 c.c.
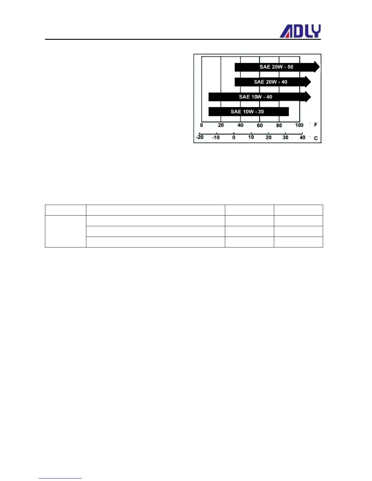
Oil viscosity SAE10W-30
(Recommend JASO MA Grade engine oil)
Gear Box Oil
Rear gear box oil replacement: 150c.c
Front differential gear oil replacement: 250c.c
Gear oil viscosity : SAE 80 or 90 (Recommended Hypoid gear oil)
Items Standard(mm) Limit(mm)
Inner rotor clearance 0.15 0.20
Clearance between outer rotor and body 0.15-0.20 0.25
Oil pump
Clearance between rotor side and body 0.04-0.09 0.12
Torque value
Torque value oil strainer cap 1.3-1.7kgf-m
Engine oil drain bolt 3.5-4.5kgf-m
Gear oil drain bolt 1.1-1.5kgf-m
Gear oil join bolt 3.5-4.5kgf-m
Oil pump connection screw 0.1-0.3kgf-m
Troubleshooting
Low engine oil level Dirty oil
Oil leaking No oil change periodically
• Valve guide or seat worn out • Cylinder head gasket damage
• Piston ring worn out • Piston ring worn out
Low oil pressure
• Low engine oil level
• Clogged in oil strainercircuits or pipes
• Oil pump damaged

Related product manuals