EasyManua.ls Logo

Hisense 12K - The Initial Check

Hisense 12K
160 pages
Print Icon
To Next Page IconTo Next Page
To Next Page IconTo Next Page
To Previous Page IconTo Previous Page
To Previous Page IconTo Previous Page
Loading...
3.1 The Initial Check
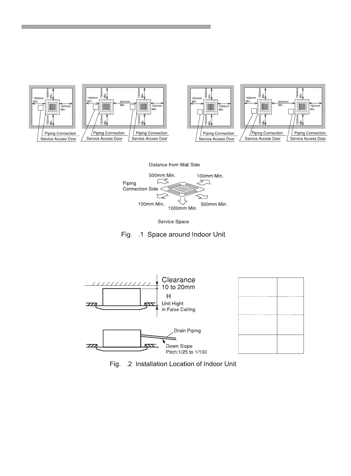
Install the indoor unit with a proper clearance around it for operation and maintenance working space,
as shown in Fig.3.1.
Provide a service access door near the unit piping connection area on the ceiling.
Check to ensure that the ceiling has a sufficient strength to hang the indoor unit.
Check the ceiling surface is flat for the air panel installation work.
3
Select the installation location as follows Fig 3.2 :
(A) Minimum Space
(B) Down Slope Pitch of Drain Piping:1/251/100
Consider the air distribution from the indoor unit to the space of the room, and select a suitable
location so that uniform air temperature in the room an be obtained.It is recommended that the
indoor unit be installed 2.5 to 3 meters from the floor level.
Do not install flammable parts in the service space for the indoor unit.
Avoid obstacles which may hamper the air intake or the air discharge flow.
Installation and Maintenance
11
(unit : mm)
Model
Capacity (BTU/h)
H
12K,18K
270
24K
248
36K,42K,
48K,60K
298
3
12K/18K
24K/36K/42K/48K/60K

Table of Contents

Other manuals for Hisense 12K

Related product manuals