EasyManua.ls Logo

Hitachi C 12RSH

Hitachi C 12RSH
101 pages
To Next Page IconTo Next Page
To Next Page IconTo Next Page
To Previous Page IconTo Previous Page
To Previous Page IconTo Previous Page
Loading...
--- 55 ---
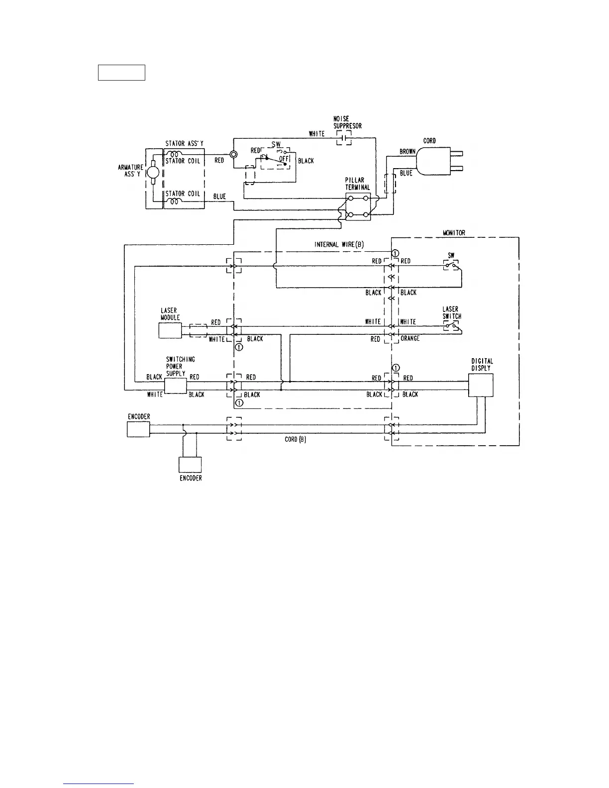
NZL
C 12LSH
Fig. 67-2

Table of Contents

Other manuals for Hitachi C 12RSH

Related product manuals