EasyManua.ls Logo

Honda BF75D - Page 28

Honda BF75D
174 pages
Print Icon
To Next Page IconTo Next Page
To Next Page IconTo Next Page
To Previous Page IconTo Previous Page
To Previous Page IconTo Previous Page
Loading...
27
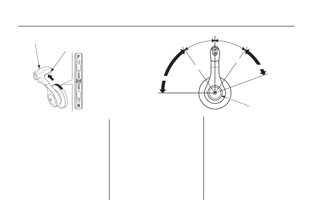
CONTROLS AND FEATURES (R type)
Shifting gear into forward, reverse, or
neutral and the engine speed
adjustment can be performed with the
remote control lever.
It is necessary to pull up the neutral
release lever to operate the remote
control lever.
FORWARD:
Moving the lever to the FORWARD
position (i.e. approximately 35° from
the NEUTRAL position) engages the
gear into forward. Moving the lever
further from the FORWARD position
will increase the throttle opening and
the boat forward speed.
NEUTRAL:
Engine power is cut off from the
propeller.
REVERSE:
Moving the lever to the REVERSE
position (i.e. approximately 35° from
the NEUTRAL position) engages the
gear into reverse. Moving the lever
further from the REVERSE position
will increase the throttle opening and
the boat reverse speed.
Remote Control Lever (R2 type)
REMOTE CONTROL LEVER
NEUTRAL RELEASE LEVER
FORWARD
NEUTRAL
REVERSE
THROTTLE OPENING
THROTTLE OPENING
NEUTRAL
FORWARD
REVERSE
35°35°
SHIFT SHIFT
MINIMUM
MINIMUM
MAXIMUM
REMOTE CONTROL LEVER
MAXIMUM
<;DQQMࡍ࡯ࠫ㧞㧜㧝㧟ᐕ㧝㧜᦬㧝㧤ᣣޓ㊄ᦐᣣޓඦᓟ㧞ᤨ㧟㧟

Table of Contents

Other manuals for Honda BF75D

Related product manuals