EasyManua.ls Logo

Honeywell Evohome

Honeywell Evohome
48 pages
To Next Page IconTo Next Page
To Next Page IconTo Next Page
To Previous Page IconTo Previous Page
To Previous Page IconTo Previous Page
Loading...
Application Manual 41
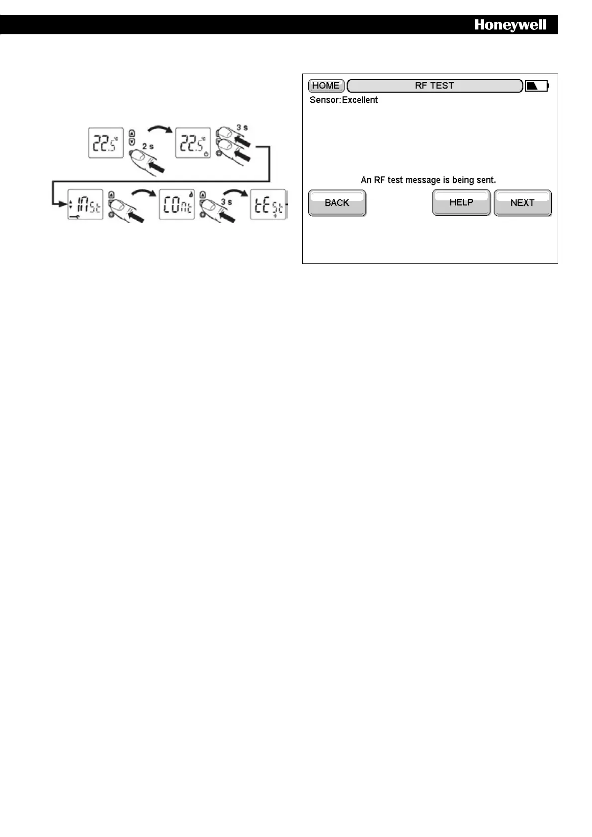
Checking RF communication4.8.2
Select Menu BINDING AND RF TEST. f
The DT92 controller sends test signals to the evotouch
controller in order to test the signal strength.
The device is now in the test mode and sends test signals
to the evotouch controller.
i
The signal strength can be EXCELLENT, GOOD, POOR or not received.
Deactivating the RF communication check
Remove and re-insert the batteries of the DT92. f
Completing conguration
Press the DONE button. f
Configuration of the DT92 room adjuster/sensor is completed.

Other manuals for Honeywell Evohome

Related product manuals