EasyManua.ls Logo

HP 54753A - Page 261

HP 54753A
288 pages
Print Icon
To Next Page IconTo Next Page
To Next Page IconTo Next Page
To Previous Page IconTo Previous Page
To Previous Page IconTo Previous Page
Loading...
Transmission Line Theory Applied to Digital Systems
Microstrip Transmission Line Techniques Evaluated Using TDR Measurements
11-33
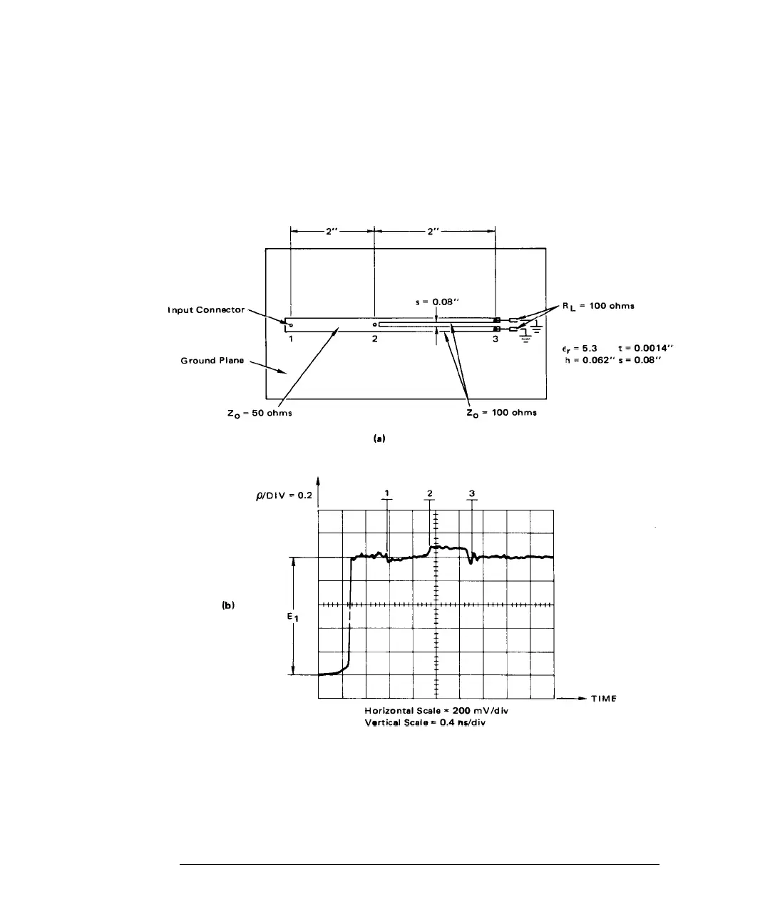
Figure 11-17B shows the reflection due to the construction of Figure 11-17A
where the two 100 lines have been brought close together. The reflection at
point 2 is now equal to 8% because the two lines are cross coupled.
Figure 11-17
Hybrid Divider with Crosstalk Problem
Even mode or odd mode characteristic impedance (Z
o
e
or Z
o
o
) can be
considered to exist in a circuit with crosstalk. One, Z
o
e
, is due to the strips
being at the same potential and carrying equal currents in the same direction.

Table of Contents

Related product manuals