EasyManua.ls Logo

Hyster D187 - 250-Hour;6-Week Maintenance

Hyster D187
80 pages
Print Icon
To Next Page IconTo Next Page
To Next Page IconTo Next Page
To Previous Page IconTo Previous Page
To Previous Page IconTo Previous Page
Loading...
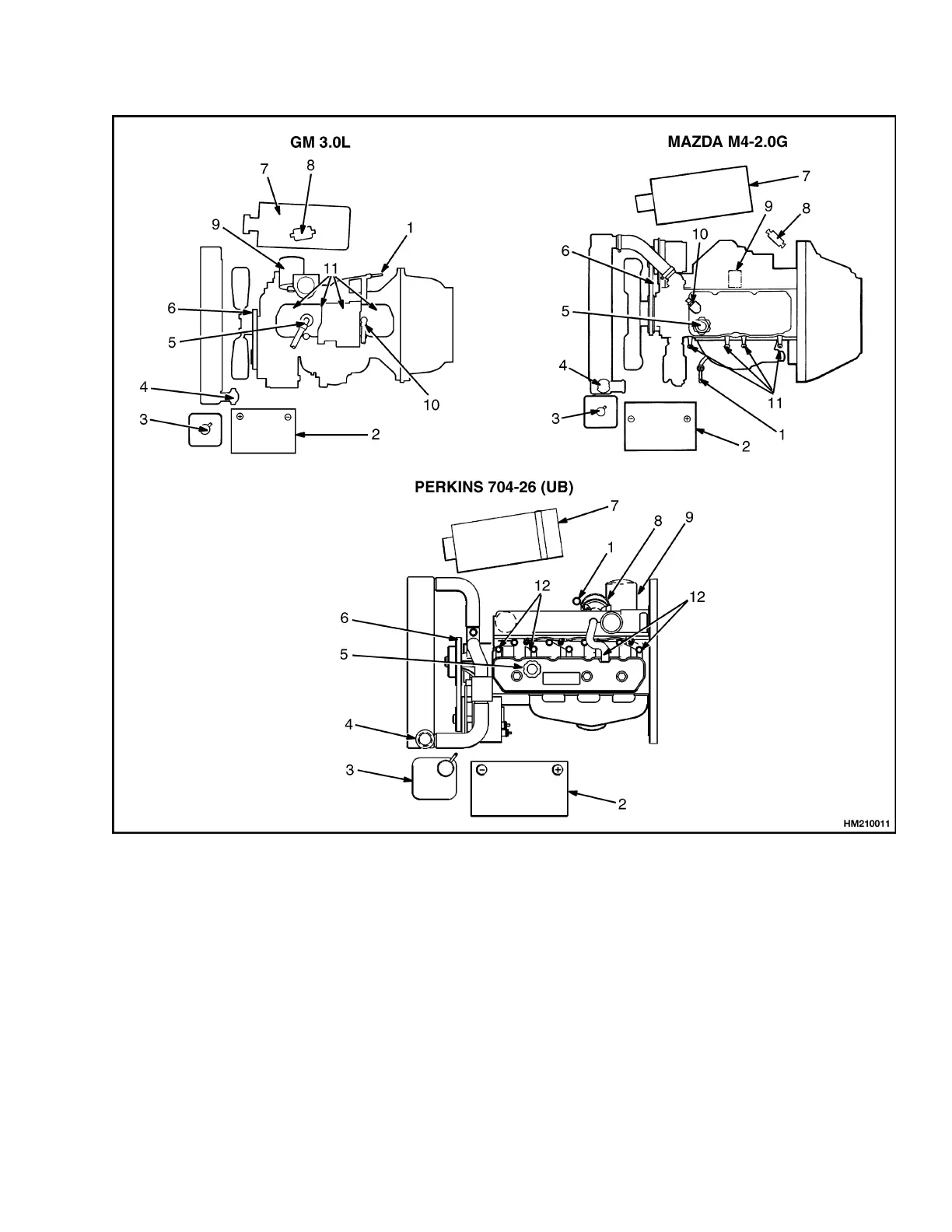
8000 SRM 707 Maintenance Procedures Every 8 Hours or Daily
1. DIPSTICK FOR ENGINE OIL
2. BATTERY
3. AUXILIARY COOLANT RESERVOIR
4. RADIATOR CAP
5. ENGINE OIL FILL
6. DRIVE BELTS
7. AIR FILTER
8. FUEL FILTER
9. ENGINE OIL FILTER
10. PCV VALVE
11. SPARK PLUGS
12. FUEL INJECTORS
Figure 11. Engine Maintenance Points
27

Table of Contents

Other manuals for Hyster D187

Related product manuals