EasyManua.ls Logo

Hyster D187 - Cooling System; Maintenance Procedures Every 250 Hours or 6 Weeks; Air Filter

Hyster D187
80 pages
Print Icon
To Next Page IconTo Next Page
To Next Page IconTo Next Page
To Previous Page IconTo Previous Page
To Previous Page IconTo Previous Page
Loading...
8000 SRM 707 Maintenance Procedures Every 250 Hours or 6 Weeks
4. Raise mast 0.9 m (3 ft) with a capacity load. The
inner weldment(s) and the carriage must raise
smoothly. Lower mast. All moving components
must lower smoothly.
5. Lower load to approximately 0.3 m (1 ft). Tilt
mast forward and backward. The mast must
tilt smoothly, and both tilt cylinders must stop
evenly.
6. Check that controls for attachment operate func-
tions of attachment. (See the symbols by each of
the controls.) Make sure all hydraulic lines are
connected correctly and do not leak.
Cooling System
On (S40-65XM) lift truck models, the red light is on
when the key switch is in the START position and
must go off when the engine is running. If the light
is on when the engine is running, the coolant level in
the radiator is low. Make a visual check of the coolant
level. See Figure 17.
WARNING
DO NOT remove the radiator cap from the radi-
ator when the engine is hot. When the radiator
cap is removed, the pressure is released from
the system. If the system is hot, the steam and
boiling coolant can cause burns.
Some units have a gauge for coolant temperature.
If the needle is in the red zone when the engine is
running, the coolant and engine are too hot. Stop
the engine and check the coolant level in the coolant
recovery reservoir.
Make sure coolant level is between the FULL and
the ADD marks on auxiliary coolant reservoir. The
coolant will expand as it is heated, and the level
in the auxiliary coolant reservoir will increase. If
coolant is added, use the correct mixture of wa-
ter and ethylene glycol shown in the Maintenance
Schedule.
WARNING
Compressed ai
r can move particles so they
cause injury t
o the user or to other personnel.
Make sure the
path of the compressed air is
away from all
personnel. Wear protective gog-
gles or a face
shield to prevent injury to the
eyes.
Check radiat
or fins. Clean radiator with compressed
airorwatera
s needed.
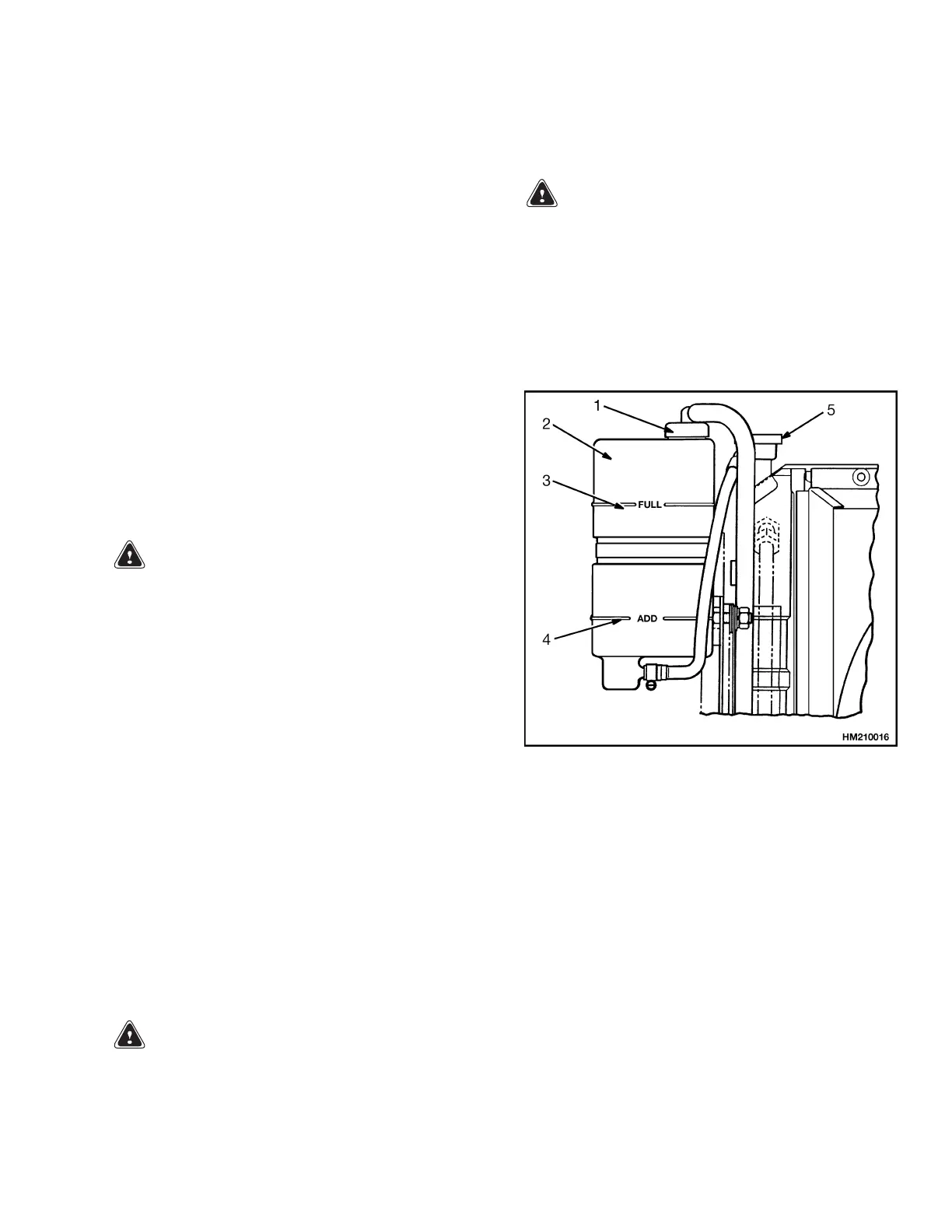
1. FILL CAP
2. AUXILIARY
COOLANT
RESERVOIR
3. FULL MARK
4. ADD MARK
5. RADIATOR CAP
Figure 17. Auxiliary Coolant Reservoir
Maintenance Procedures Every 250 Hours or 6 Weeks
NOTE: Do these procedures in addition to the 8-hour
checks.
AIR FILTER
WARNING
Compressed air can move particles so they
cause injury to the user or to other personnel.
Make sure the path of the compressed air is
away from all personnel. Wear protective gog-
gles or a face shield to prevent injury to the
eyes.
Check air filter every 250 hours of operation. Very
dirty conditions will require a daily inspection and
cleaning or installation of a new filter element. Use
compressed air to clean filter element. Air pressure
must be less than 210 kPa (30 psi). Apply air from
inside to outside of filter element. See Figure 13.
33

Table of Contents

Other manuals for Hyster D187

Related product manuals