EasyManua.ls Logo

Iconia B1-A71 - Exploded Assembly Diagram

Default Icon
104 pages
Print Icon
To Next Page IconTo Next Page
To Next Page IconTo Next Page
To Previous Page IconTo Previous Page
To Previous Page IconTo Previous Page
Loading...
FRU (Field Replaceable Unit) List 6-3
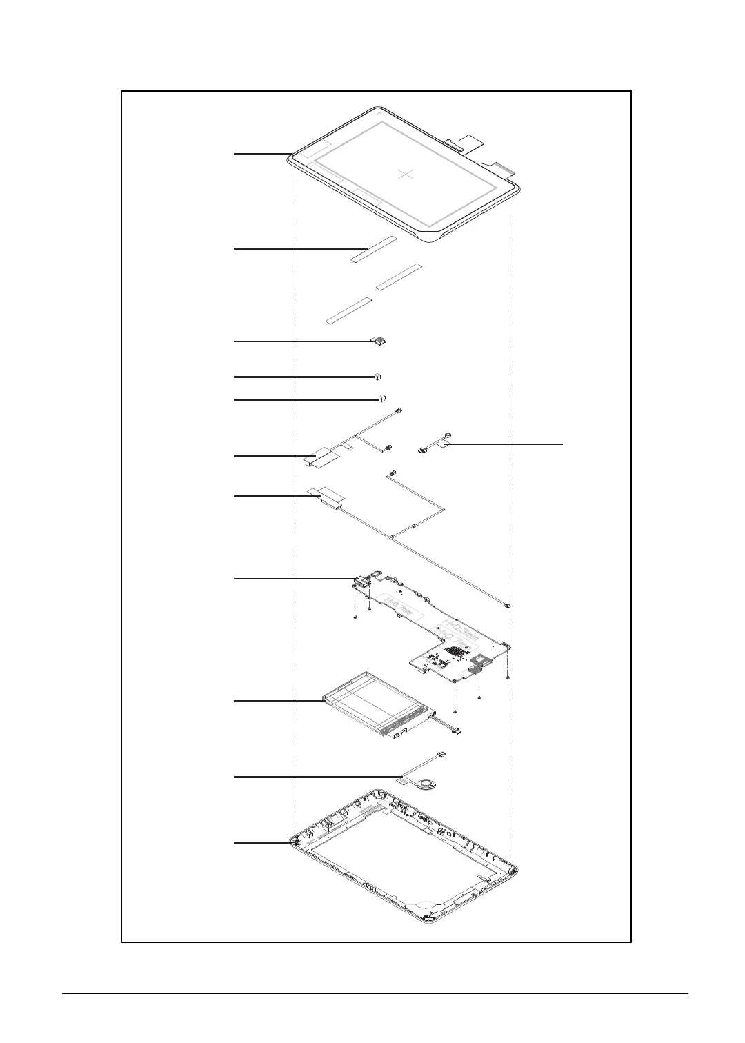
Exploded Diagram
Figure 6-1. Main Assembly Exploded Diagram
3
4
5
1
2
8
9
10
11
12
6
7

Table of Contents

Related product manuals