EasyManua.ls Logo

Integra DTR-5.8 - Video Output Configuration; HDMI Output Setting No

Integra DTR-5.8
116 pages
Print Icon
To Next Page IconTo Next Page
To Next Page IconTo Next Page
To Previous Page IconTo Previous Page
To Previous Page IconTo Previous Page
Loading...
25
Connecting the AV receiver—Continued
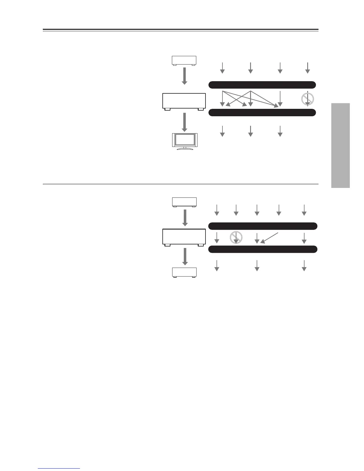
HDMI Monitor Setting Set to No
With the HDMI Monitor setting set to No (see
page 47), video input signals flow through the
AV receiver as shown, with composite video and
S-Video sources being upconverted for the com-
ponent video output. Use this setting if you con-
nect the AV receiver’s COMPONENT VIDEO
OUT to your TV.
Composite video is upconverted to S-Video and
S-Video is downconverted to composite video.
Note that these conversions only apply to the
MONITOR OUT V and S outputs, not the
VCR/DVR OUT V and S outputs.
The composite video, S-Video, and component
video outputs pass through their respective input
signals as they are.
Audio Connection Formats
Audio equipment can be connected to the AV
receiver by using any of the following audio con-
nection formats: analog, optical, coaxial, analog
multichannel, or HDMI.
When choosing a connection format, bear in
mind that the AV receiver does not convert digital
input signals for analog line outputs and vice
versa. For example, audio signals connected to
an optical or coaxial digital input are not output
by the analog TAPE OUT.
IN
MONITOR OUT
DVD player, etc.
AV receiver
TV, projector, etc.
Composite
Composite
S-Video
S-Video
Component
Component
Video Signal Flow Chart
HDMI
HDMI
IN
OUT
DVD player, etc.
AV receiver
MD recorder, etc.
HDMICoaxial Analog
Audio Signal Flow Chart
Multichannel
Optical
HDMI Analog
Optical

Table of Contents

Other manuals for Integra DTR-5.8

Related product manuals