EasyManua.ls Logo

Johnson J2R4SUC 2007 - Disassembly

Johnson J2R4SUC 2007
179 pages
Print Icon
To Next Page IconTo Next Page
To Next Page IconTo Next Page
To Previous Page IconTo Previous Page
To Previous Page IconTo Previous Page
Loading...
140
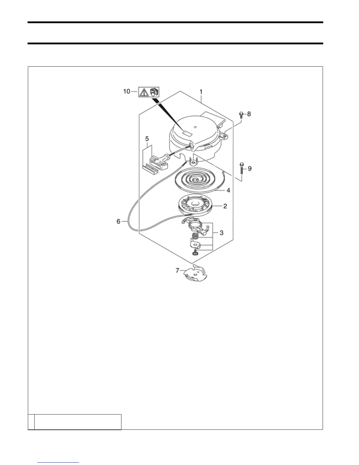
MANUAL STARTER
SERVICE CHART
SERVICE CHART
1. Starter assembly, recoil
2. Reel
3. Ratchet set
4. Spring, spiral
5. Grip set
6. Rope
7. Pulley, starter
8. Bolt
9. Bolt
10. Decal, S.I.G.P.
EPC4222
A
A Triple-Guard Grease
F Blue Nut Lock

Table of Contents

Related product manuals