EasyManua.ls Logo

Keba KeControl CP 50 Series - RS-485-A Interfaces

Keba KeControl CP 50 Series
86 pages
Print Icon
To Next Page IconTo Next Page
To Next Page IconTo Next Page
To Previous Page IconTo Previous Page
To Previous Page IconTo Previous Page
Loading...
CP 503/A, CP 505/A,D,K, CP 507/
A,C
Connections and wiring
Project engineering manual V1.06
47
© KEBA 2021
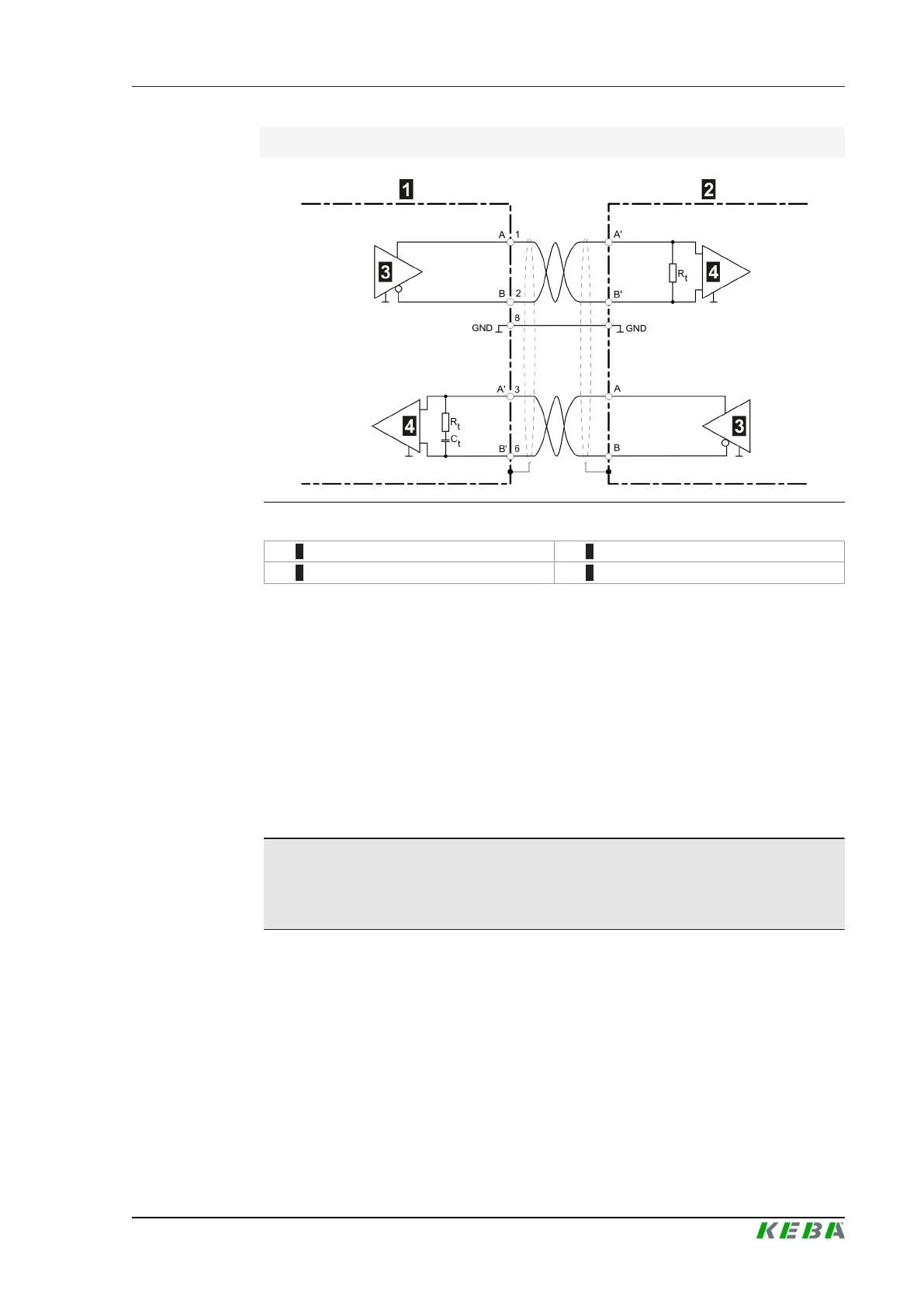
Bus termination with AC termination
Fig.6-34: Example: AC termination
1 ... CP 50x/x 2 ... External participant
3 ... Transmitter 4 ... Receiver
6.8.2.4 Cable and plug specification
For details, refer to the system manual.
6.8.3 RS-485-A interfaces
Several participants can communicate via the RS-485-A bus at which the
maximum number of participants is limited to 32. The wires to other partici-
pants have to be shielded. For participants with lower unit load than as-
sumed by the standard (e.g. 1/4 unit load), more than 32 participants can be
connected.
Information
The wirring configuration is a line topology and must not corespond to a
star structure.

Table of Contents

Related product manuals