EasyManua.ls Logo

KStar KSH-5k-48 - Battery Connection

KStar KSH-5k-48
44 pages
Print Icon
To Next Page IconTo Next Page
To Next Page IconTo Next Page
To Previous Page IconTo Previous Page
To Previous Page IconTo Previous Page
Loading...
5.5
.
Fo
r
sp
e
A
B
(1)
(2)
(3)
(4)
(5) Pa
b
a
t
.
3 Battery
A reverse po
l
connection.
D
warranty.
Be careful of
e
If the DC cir
c
may be gene
r
r
the safe oper
a
e
cifications.
Cros
s
Check if the
v
Disconnect th
Loosen the n
u
Disassemble
t
ss the cable su
c
t
tery protectiv
e
Si
n
Cable
connectio
l
arity connecti
o
D
amage caused
e
lectric shock
a
c
uit breaker be
r
ated in wiring.
a
tion of the sys
s
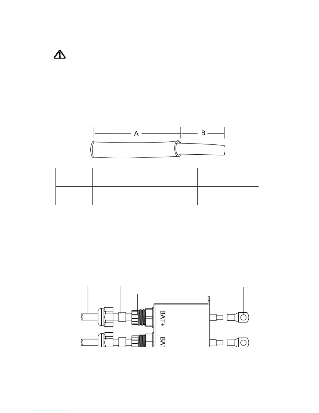
-sectional are
The length o
v
oltage of batte
r
e DC circuit b
r
u
t.
t
he single-aper
t
c
cessively thro
u
e
cover (refer t
o
Insul
a
n
gle-aperture sea
n
o
n may damag
by a reverse
a
nd chemical c
o
tween the inv
e
tem, it is advi
s
a of conducto
r
f uninsulated
w
r
ies complies
w
r
eaker between
t
ure sealing rin
g
u
gh the nut, si
n
o
Figure 19).
a
tor
ling ring
e the inverter.
polarity conn
e
o
ntamination.
e
rter and batter
i
s
able to use th
e
r
materials
w
ire
w
ith the produc
t
the inverter an
d
g
.
n
gle-aperture s
e
Please pay at
t
e
ction is not c
i
es is absent,
a
e
wire in line
w
20~25
m
About
1
t
specifications
d
batteries.
e
aling ring, ins
u
Battery
w
t
ention to t
h
overed und
e
a
n electric a
r
w
ith followi
n
mm
2
1
0mm
.
u
lator and
w
iring termin
a

Table of Contents

Other manuals for KStar KSH-5k-48

Related product manuals