EasyManua.ls Logo

Labcyte Echo 520 - 384-Plate to 1536-Plate Liquid Transfer

Labcyte Echo 520
200 pages
Print Icon
To Next Page IconTo Next Page
To Next Page IconTo Next Page
To Previous Page IconTo Previous Page
To Previous Page IconTo Previous Page
Loading...
Introduction 1-15
1.3.3 384-plate to 1536-plate liquid transfer
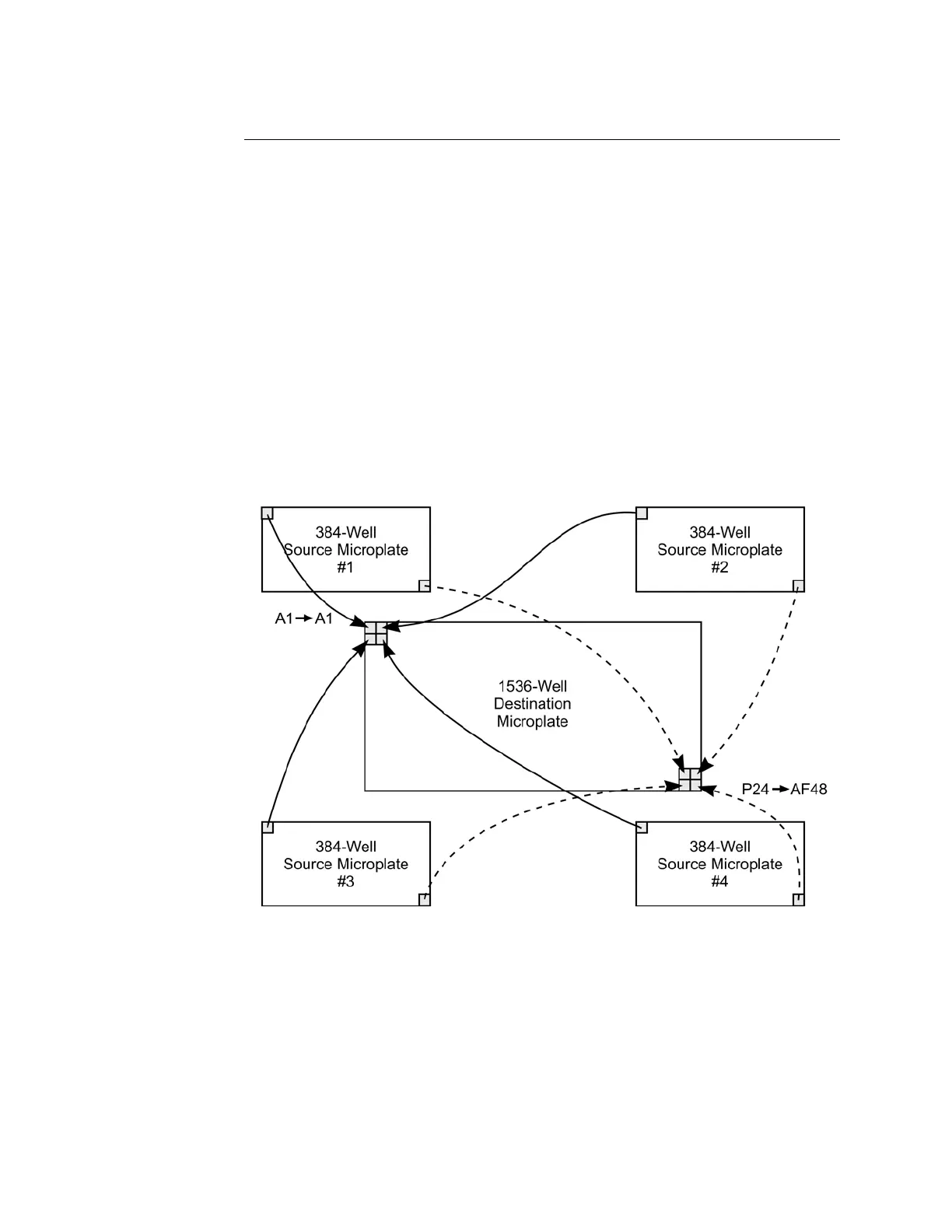
Figure 1.11 illustrates a 384-well to 1536-well interleaved fluid transfer. An
interleaved transfer places, or stacks, all source A1 well transfers into a
single cluster on the destination plate. Figures 1.12 and 1.11 clearly show
these two schemes.
Each source microplate requires its own transfer map defining which wells
are to be transferred to the destination microplate. These transfer maps can
be unique for each of the source plates.
If the transfer maps consist of single- or multi-region transfers, the transfer
protocol can be easily defined using the software.
Complex transfer maps can be created using Echo Applications software or
ActiveX programming interface in the Echo Software Development Kit
(refer to the Echo Integration Guide).
Figure 1.11 384 to 1536 interleaved full plate transfer.

Table of Contents

Related product manuals