EasyManua.ls Logo

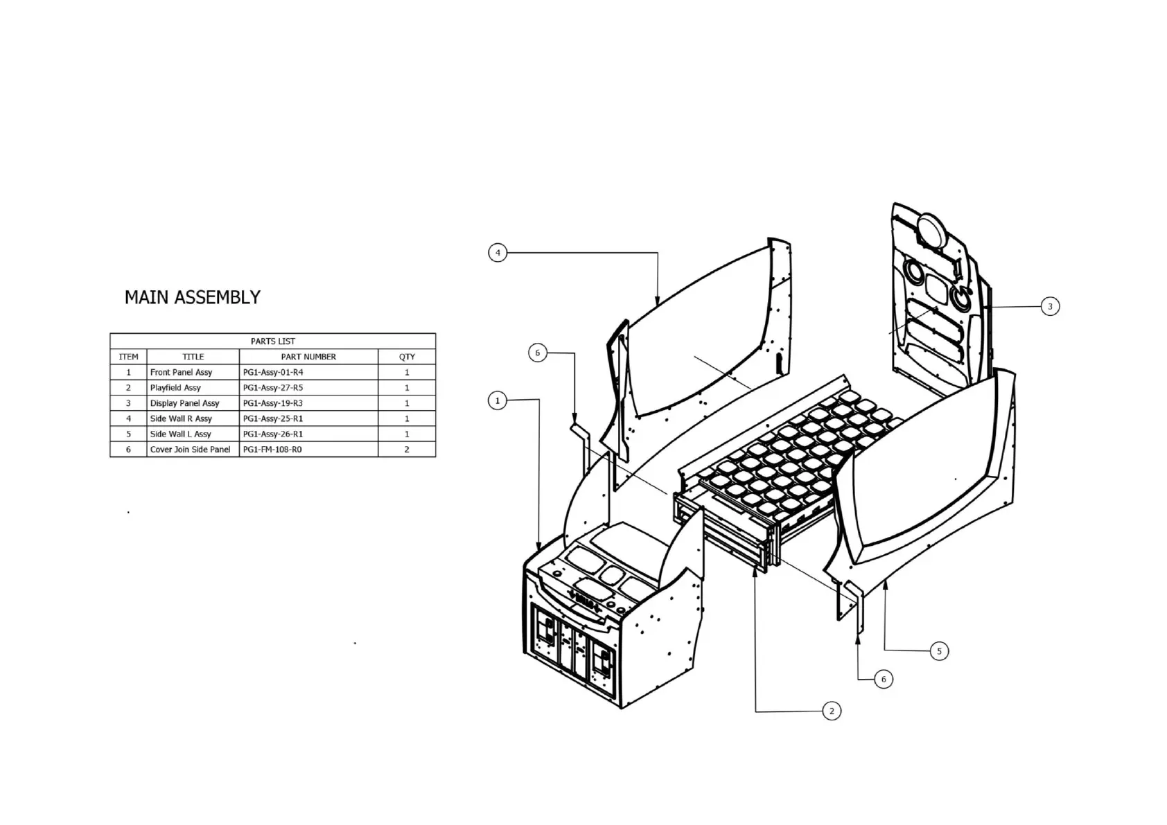
LAI Games Let’s Bounce - Mechanical Illustrations: Main Assembly; Main Assembly Exploded View

LAI Games Let’s Bounce
90 pages
Print Icon
To Next Page IconTo Next Page
To Next Page IconTo Next Page
To Previous Page IconTo Previous Page
To Previous Page IconTo Previous Page
Loading...
71
MECHANICAL ILLUSTRATIONS
MAIN ASSEMBLY

Table of Contents

Related product manuals