EasyManua.ls Logo

Lenovo ThinkServer RD450 - Page 51

Lenovo ThinkServer RD450
226 pages
To Next Page IconTo Next Page
To Next Page IconTo Next Page
To Previous Page IconTo Previous Page
To Previous Page IconTo Previous Page
Loading...
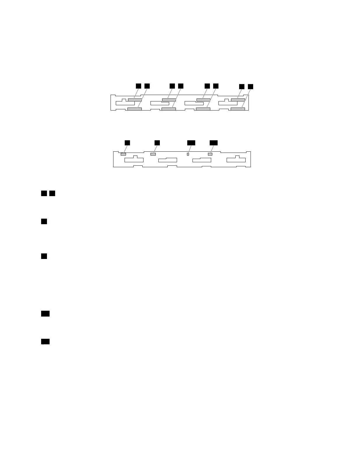
Tolocatethebackplanes,see“Servercomponents”onpage25.
Backplaneforuptoeight3.5-inchdrives
Thefollowingillustrationsshowtheslotsandconnectorsonthebackplaneforuptoeight3.5-inchdrives.
0 1 2 3 4 5
76
Figure19.Frontviewofthebackplaneforuptoeight3.5-inchdrives
10 118 9
Figure20.Rearviewofthebackplaneforuptoeight3.5-inchdrives
07Slot0–slot7
Usedtoconnect3.5-inchdrives.
810-pinpowerconnector
Usedtoconnecttothe10-pinbackplanepowerconnectoronthesystemboardtoprovidepowertothe
backplane.
9SASconnector2(ports4–7)
Usedtoconnecttooneofthefollowingconnectors:
SATAconnector1(ports4–7)onthesystemboard
Port1ontheLenovoThinkServerRAID500PCIeAdapter
Port2ontheLenovoThinkServerRAID710PCIeAdapter
102-pinpowerconnector
Usedtoconnecttoanopticaldriveifoneisinstalled.
11SASconnector1(ports0–3)
Usedtoconnecttooneofthefollowingconnectors:
SATAconnector0(ports0–3)onthesystemboard
Port0ontheLenovoThinkServerRAID500PCIeAdapter
Port1ontheLenovoThinkServerRAID710PCIeAdapter
Chapter3.Productoverview37

Table of Contents

Other manuals for Lenovo ThinkServer RD450

Related product manuals