EasyManua.ls Logo

LNS Alpha ST320 S2 - Alignment and Anchoring

LNS Alpha ST320 S2
138 pages
Print Icon
To Next Page IconTo Next Page
To Next Page IconTo Next Page
To Previous Page IconTo Previous Page
To Previous Page IconTo Previous Page
Loading...
CHAPTER 3: SETTING INTO OPERATION 3-7
ALPHA ST320 S2
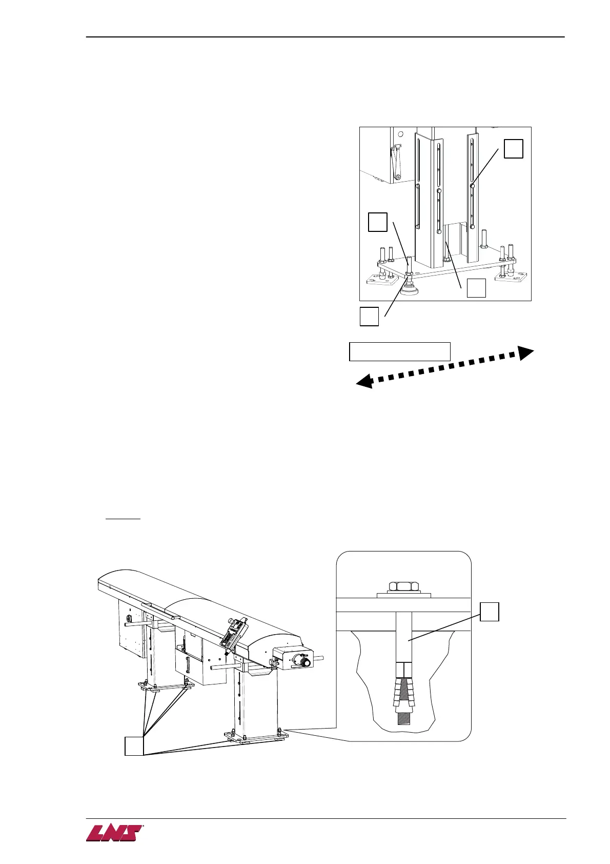
3. ALIGNMENT AND ANCHORING
On each stand, loosen the lock nuts (A) of the
levelling screws (B). Then, make sure that the
weight of the bar feed system is evenly
distributed over the 12 support points.
Place a level on the stand. Adjust stem (B) so
that the bar feed system are levelled on the
lateral direction.
Make sure the bar feed system is well
supported by the nut (C) on central stem.
On each stand, loose 8 pieces of nut (D), set
height of the bar feed system by adjusting nut
(C). Together with the vertical alignment,
proceed with the lateral alignment.
When the alignment is accomplished, tighten all
8 nuts (D) on each stand.
Once the bar feed system is in place, and perfectly aligned, it should be anchored to the ground to
make it stable. To accomplish this, 8 anchorage points (E) have been provided.
8 anchorage bolts (F) must be furnished by the client (min. M10 x 100 mm / 1/2" x 4").
Once the anchoring bolts are tightened, check the alignment again, and correct it if necessary.
Tighten all the lock nuts (A).
Notice:
Before the bar feed system is anchored on the ground and the alignment is confirmed perfectly, the
lock nuts (A) should not be tightened.
D
C
L
ate
ral
direction
A
B
F
E

Related product manuals