EasyManua.ls Logo

Marantz NR1504 /U1B - 1. µcom;DSP Version Display Mode; 1.1. Operation Specifications; 1.2. Display Order

Marantz NR1504 /U1B
184 pages
Print Icon
To Next Page IconTo Next Page
To Next Page IconTo Next Page
To Previous Page IconTo Previous Page
To Previous Page IconTo Previous Page
Loading...
1. µcom/DSP Version display mode
1.1. Operation specications
µcom/DSP version display mode:
When the set is started up in this mode, the version information is displayed.
Starting up:
Press the "
ON/STANDBY
(
X
)" button to turn on the power while pressing the "
DISPLAY
" and "
STATUS
" buttons.
Now, press the "
STATUS
" button to the display the 2nd item information on the FL Display.
b
When the version is displayed on the FL Display, the version list is also displayed on the GUI.
1.2. Display Order
Error information(Refer to
1.3. Error display
) →
q
Model destination information →
w
Firmware Package Version
e
Main μ-com →
r
Main 1st Boot Loader →
t
DSP ROM →
y
Audio PLD →
u
GUI SFLASH
i
Ethernet(DM860A) 1st Boot Loader, Hardware ID →
o
Ethernet(DM860A) 2nd Boot Loader, Rhapsody Flag
Q0
Ethernet(DM860A) IMAGE →
Q1
Ethernet(DM860A)MAC ADDRESS information
q
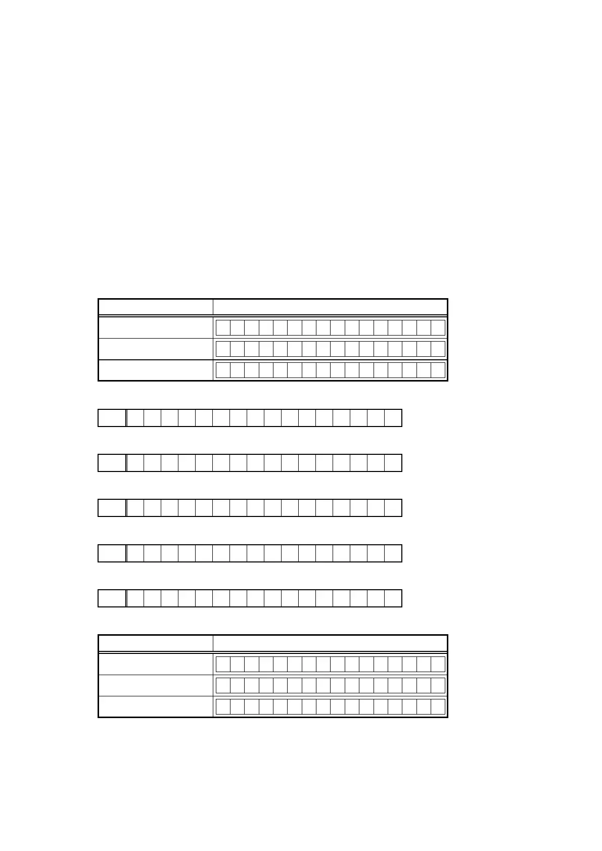
Model destination information :
Model FLD
NR1504 U model
N R 1 5 0 4 U
NR1504 N model
N R 1 5 0 4 N
NR1504 K model
N R 1 5 0 4 K
w
Firmware Package Version :
FLD
P a c k a g e : * * * *
e
Main µ-com :
FLD
M a i n : * * * * * * * *
r
Main 1st Boot Loader :
FLD
M a i n F B L : * * . * *
t
DSP ROM :
FLD
D S P : * * . * *
y
Audio PLD :
FLD
A u d i o P L D : * * . * *
u
GUI SFLASH :
Model FLD
NR1504 U model
G U I : 1 9 2 1 * * * *
NR1504 N model
G U I : 1 9 2 2 * * * *
NR1504 K model
G U I : 1 9 2 5 * * * *
25

Table of Contents

Related product manuals