EasyManua.ls Logo

Maxi Comet Executive Exec-56-G - Right Endframe

Default Icon
244 pages
Print Icon
To Next Page IconTo Next Page
To Next Page IconTo Next Page
To Previous Page IconTo Previous Page
To Previous Page IconTo Previous Page
Loading...
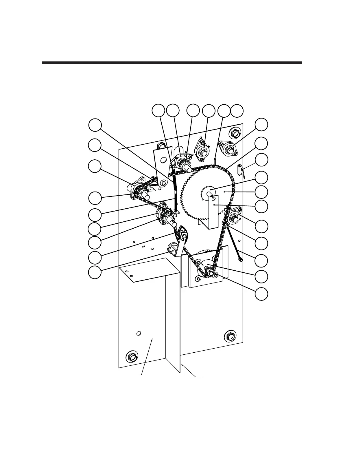
3031-005h Comet Executive Gas
PL-10
Right Endframe
5
4
3
16
17
18
13
6
14
15
19
2
9
20
21
10 11 12
1
7
8
22
4
4
11
10
ELECTRICAL ENCLOSURE
ELECTRICAL COVER
TOC
INDEX
PL-TOC

Table of Contents

Related product manuals