EasyManua.ls Logo

McFarlane 4100 Series - Disk Gang Hydraulics for RD-4145

McFarlane 4100 Series
104 pages
Print Icon
To Next Page IconTo Next Page
To Next Page IconTo Next Page
To Previous Page IconTo Previous Page
To Previous Page IconTo Previous Page
Loading...
Reel Disk from McFarlane Mfg. 88 800-627-8569
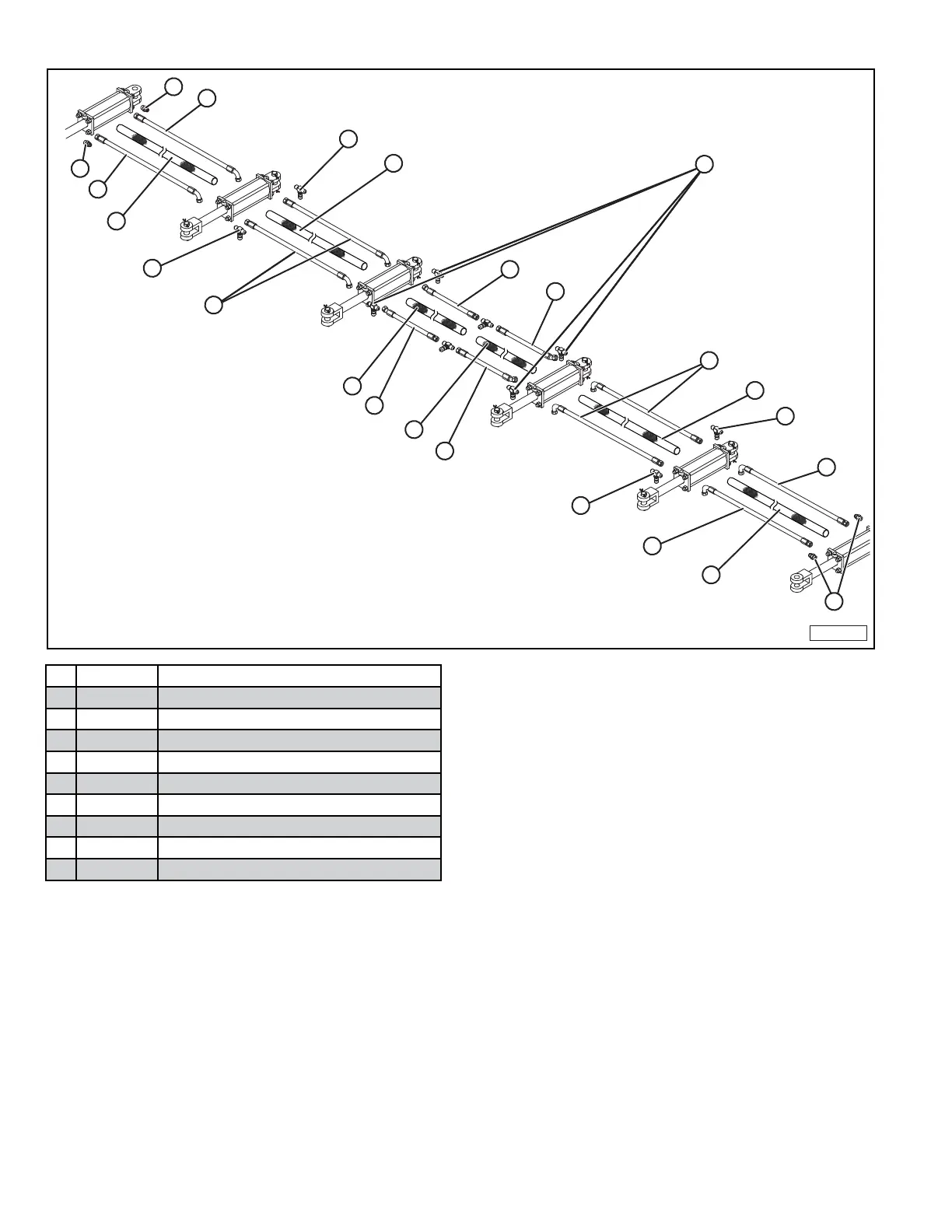
Disk Gang Hydraulics for RD-4145
2
1
5
MFM-0134
7
8
9
4
1
1
7
8
3
3
6
8
2
3
4
3
6
7
5
8
3
Item Part Number Description
1 HYF-2820 HYD ELBOW, 3/8M - 1/2 MORB
2 HYH-1045 HYD HOSE, 3/8 x 100 (90/STD)
3 HYF-1809 HYD TEE, 3/8M - 1/2 MORB - 3/8M
4 HYS-2009 HYD HOSE COVER, 90
5 HYH-1048 HYD HOSE, 3/8 x 125 (90/STD)
6 HYH-1044 HYD HOSE, 3/8 x 96 (90/STD)
7 HYH-1043 HYD HOSE, 3/8 x 85 (90/STD)
8 HYS-2007 HYD HOSE COVER, 70
9 HYH-1040 HYD HOSE, 3/8 x 76 (90/STD)

Table of Contents

Related product manuals