EasyManua.ls Logo

Menvier Security TS900+ - System Installation; Mains Connection; Battery Connection; Remote Keypads

Menvier Security TS900+
70 pages
Print Icon
To Next Page IconTo Next Page
To Next Page IconTo Next Page
To Previous Page IconTo Previous Page
To Previous Page IconTo Previous Page
Loading...
TS790+ & TS900+ Installation Manual System Installation
9
Mains Connection
The mains supply is connected to a 3 way "Euro
Type" fused terminal block, which is fitted with a
315mA fuse. All electrical connections should
be carried out by a qualified electrician and
must comply with the current IEE regulations.
¨
To comply with european regulations the
supply should be fed from a readily
accessible disconnect device, e.g. un-
switched fused spur fitted.
¨
When making mains connections it should
be ensured that if the cable slips in such a
way as to place a strain on the conductors,
the protective earthing conductor will be the
last to take the strain.
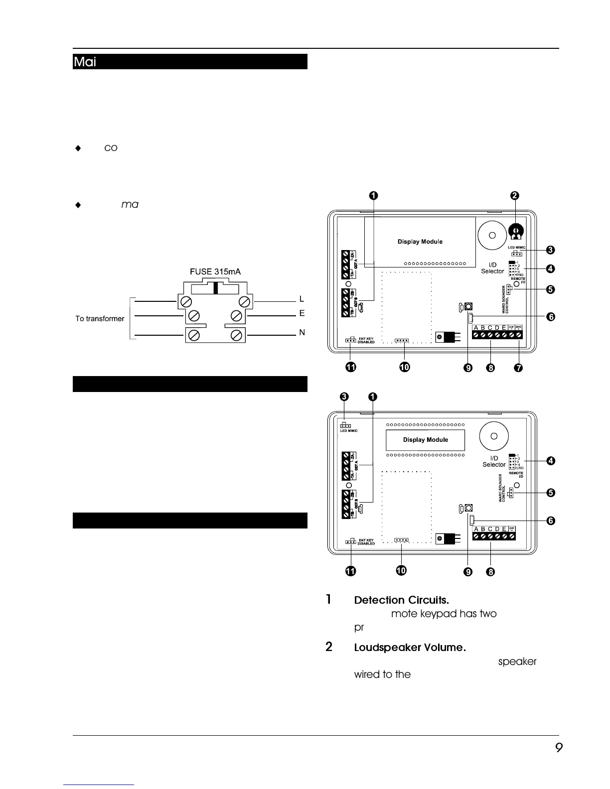
Figure 7. Mains Suppy Connections
Battery Connection
A 7Ah battery must be fitted to the system to
allow it to function during a mains fail condition.
The TS790+/TS900+ is equipped with a “Battery
Protection” circuit so that if a battery is
accidentally reverse connected or its voltage is
below 11V, the “Battery Fault” LED illuminates. To
clear the fault simply reconnect or replace the
battery as appropriate.
Remote Keypads
Four types of remote keypads can be used on
the system, however, only the NETLCD remote
keypad can be used for programming text
information. Any combination of remote
keypad may be used on the same system if
desired.
NETLCD Remote Keypad
The NETLCD remote keypad has a 32 character
backlit Liquid Crystal Display (LCD)
NETSTAR Remote Keypad
The NETSTAR remote keypad has a 8 character
backlit Starburst Liquid Crystal Display (LCD).
NETLED Remote Keypad
The NETLED remote keypad has a 4 character
LED display.
NETARM Remote Arming Station
The NETARM remote arming station does not
have a display, therefore it is designed to only
be used where setting, part setting and
unsetting of the system is required.
PCB Layouts & Connections
Figure 8. NETLCD, NETLED & NETARM PCB Layout
Figure 9. NETSTAR PCB Layout
1
Detection Circuits.
Each remote keypad has two
programmable detection circuits.
2
Loudspeaker Volume.
For adjusting the volume of a speaker
wired to the remote keypad (NETLCD
only).

Table of Contents

Related product manuals