EasyManua.ls Logo

Menvier Security TS900+ - Engineers Menu 3; Introduction; Menu Contents

Menvier Security TS900+
70 pages
Print Icon
To Next Page IconTo Next Page
To Next Page IconTo Next Page
To Previous Page IconTo Previous Page
To Previous Page IconTo Previous Page
Loading...
TS790+ & TS900+ Installation Manual Engineer’s Menu 2
41
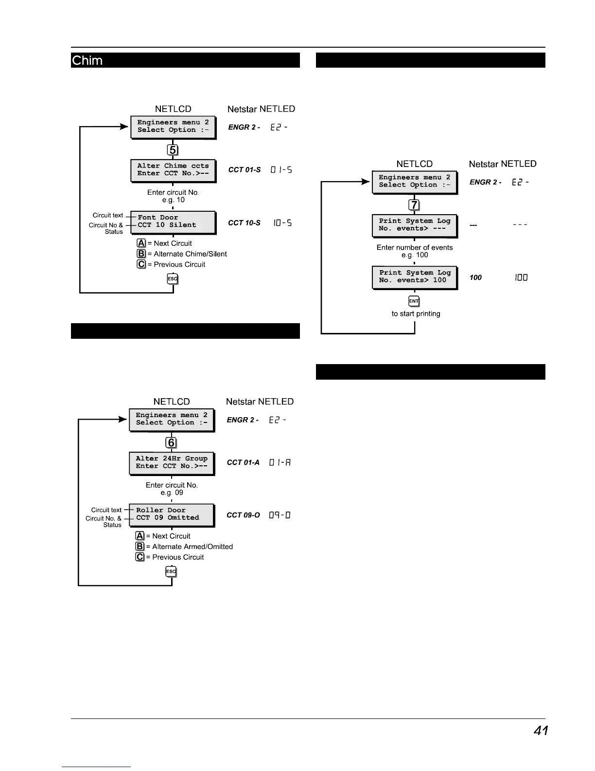
Chime Circuits [2.5]
This option allows an alternative method of
programming circuits as “chime”.
Chime Circuits Flowchart
Alter 24Hr Group [2.6]
Circuit types “24hr” and “Auxiliary” with the
"Omittable" attribute can be assigned to the
24hr group. The 24hr group is isolated by using
user menu 1 option 6, see "User Manual".
Alter 24hr Group Flowchart
Print System Log [2.7]
The system log stores 700 events (1800 when
expanded), if a printer is connected to the
system it is possible to print a selected number
of events. Once the printout has been started it
can only be stopped by selected this option
again and entering “000” for the number of
events.
Print System Log Flowchart
Configure Wards [2.8]
The TS790+ and TS900+ can be split into four
wards (areas): System, A, B and C. Each ward
can then be assigned to passcodes or part-set
buttons. See “Part Set Groups” on page 47 and
“Code Set Groups” on page 47.
Circuits can be assigned to more than one
ward (system, A,B or C) thus creating
overlapping areas. Circuits that are assigned to
more than one ward will only be armed when
both or all wards are set. Note that this may
mean that a user who sets one ward does not
realise that some circuits are unset because
they are shared with another unset ward, for
example the system ward.
Only “Night”, “Final Exit” and “Exit terminator”
circuit types can be assigned to wards A, B and
C. From the factory, all detection circuits are
assigned to the system ward (i.e., they are not
assigned to wards A, B or C). Circuits that
remain assigned to the system ward can also
be set or unset independently.
The master user can change the allocation of
circuits to wards (see User Manual). To prevent
this use Engineer Menu 1-09-01 (see page 34).

Table of Contents

Related product manuals