EasyManua.ls Logo

Menvier Security TS900+ - Engineers Menu 3; Built In Tests; Voltage; View Circuit Resistance (LCD Only)

Menvier Security TS900+
70 pages
Print Icon
To Next Page IconTo Next Page
To Next Page IconTo Next Page
To Previous Page IconTo Previous Page
To Previous Page IconTo Previous Page
Loading...
Engineer’s Menu 3 TS790+ & TS900+ Installation Manual
46
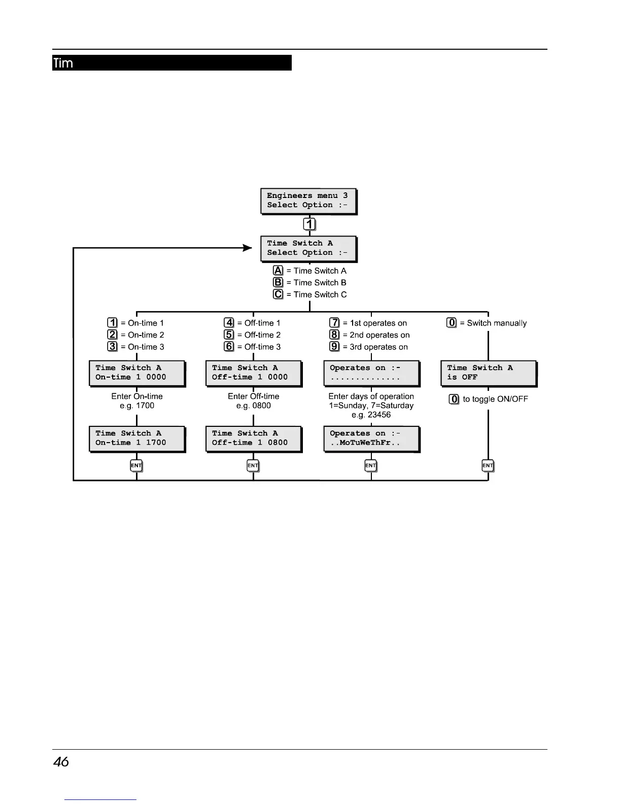
Time Switches [3.1]
The TS790+/TS900+ has three programmable
time switches. Each time switch can be
programmed with up to three separate on/off
times and made to operate on any day of the
week. The time switches can be assigned to
outputs which in turn can be used to control
internal or external lighting via a relay etc.
Time Switches Flowchart

Table of Contents

Related product manuals