EasyManua.ls Logo

Menvier Security TS900+ - Engineers Menu 1; Circuit Attributes; Chime; System Timers

Menvier Security TS900+
70 pages
Print Icon
To Next Page IconTo Next Page
To Next Page IconTo Next Page
To Previous Page IconTo Previous Page
To Previous Page IconTo Previous Page
Loading...
Engineer’s Menu 1 TS790+ & TS900+ Installation Manual
30
8 Chime
Circuits with this attribute will cause the
internal sounders and remote keypad
sounders to generate a two tone “chime”
sound if the circuit is activated. The users
may enable or disable the chime feature, or
select it to operate when the system is unset
or part-set. The “Chime” attribute may only
be assigned to 24hr, Auxiliary, Final Exit and
Exit Terminator circuit types.
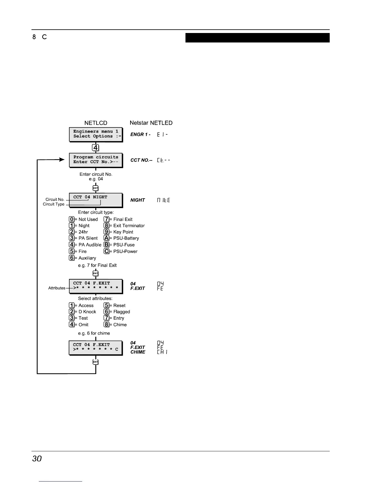
Program Circuits Flowchart
System Timers [1.5]
The system timers are as follows:
00 Test Call At
This timer controls the hour at which the
control unit sends a timed test call. For
example, if the timer is set at 003 (default)
then the control unit sends a test call at
03:00 am. If the timer is set to 014 then the
control unit sends the test call at 02:00 pm.
01 No of Re-Arms
At the end of the bell duration time the
system re-arms all circuits that are healthy.
Circuits that are still in an alarm are isolated
until they change to a healthy condition. This
counter controls the number of times that a
"circuit" will re-arm before it is locked out of
the system. This counter has a working range
of 000-199.
02 Settle Time
When setting the system by “Final Exit” or “Exit
Terminator”, detectors that are on the exit
route sometimes take 3-4 seconds to settle
after activation. The delay programmed in
this timer is used to allow these detectors to
settle before the system or area is set. This
timer has a working range of 000-199
seconds.
03 Part Set Comms Delay
When the system is part-set the
communication of an alarm signal to the
central station can be delayed by the value
set in this timer. If the timer is set to 199 the
part-set communications are disabled. This
timer has a working range of 000-199
seconds.
04 Exit Time
This timer sets the delay between the user
initiating the exit procedure and the system
(or area) actually setting. If during the exit
time an “Exit Terminator” circuit is activated
the exit time is cancelled and the system
sets immediately. This timer has a working
range of 000-199 seconds.
05 Entry Time
When the system is set or part-set, and the
entry procedure is initiated, the entry timer
starts to count down. If a valid user
passcode has not been entered when the
timer reaches zero, the internal sounders are

Table of Contents

Related product manuals