EasyManua.ls Logo

Menvier Security TS900+ - Engineers Menu 3; Engineers Name (LCD Only); Part Set Text (LCD Only); Circuit Text (LCD Only)

Menvier Security TS900+
70 pages
Print Icon
To Next Page IconTo Next Page
To Next Page IconTo Next Page
To Previous Page IconTo Previous Page
To Previous Page IconTo Previous Page
Loading...
Engineer’s Menu 2 TS790+ & TS900+ Installation Manual
44
LCD Starburst LED Description
SYSTEM RE-ARMED
RE-ARMED
rA
System re-armed all healthy circuits.
SYSTEM SET
FULL SET
FS
System fully set.
TAMPER 01-56
TAMP R 01-56
TA.01-56
Tamper alarm from circuit.
TEST CCTS OFF
TEST OFF
To
All circuits taken off “Test”
TEST FAIL 01-56
T. FAIL 01-56
TF.01-56
Circuit failed during “Test”.
TIME CHANGED
TIME CHG
Tc
System time changed
UNSET WARD A/B/C/S
UNSET A/B/C/S
Un.ABCS
Wards A, B, C or System Unset.
WALK TEST
WALK TST
cT
System “Walk Test” selected.
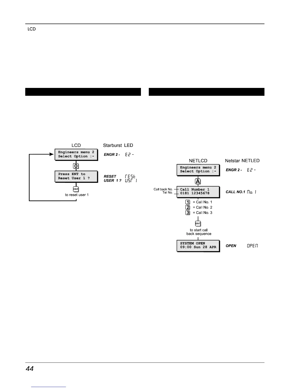
Reset User Code 1 [2.0]
This option allows the installation engineer to
reset the master user (user 01) back to the
factory default code of “5678". This feature is
useful when the master user has forgotten their
passcode or has accidentally changed it
without realising. This operation is logged.
Reset User Code Flowchart
Start Call Back [2.A]
If the system is fitted with a DC58M digi-
modem, it is possible for the installation
engineer to initiate an upload sequence to a
remote site (normally the alarm company).
Once the communication link is established
with the remote site, data can be sent and
received from the control panel. This feature is
only compatible with Menvier Lineload software
version 2.2 or above.
S
tart Call Back Flowchart

Table of Contents

Related product manuals