EasyManua.ls Logo

Menvier Security TS900+ - Engineers Menu 3; Time Switches

Menvier Security TS900+
70 pages
Print Icon
To Next Page IconTo Next Page
To Next Page IconTo Next Page
To Previous Page IconTo Previous Page
To Previous Page IconTo Previous Page
Loading...
Engineer’s Menu 2 TS790+ & TS900+ Installation Manual
42
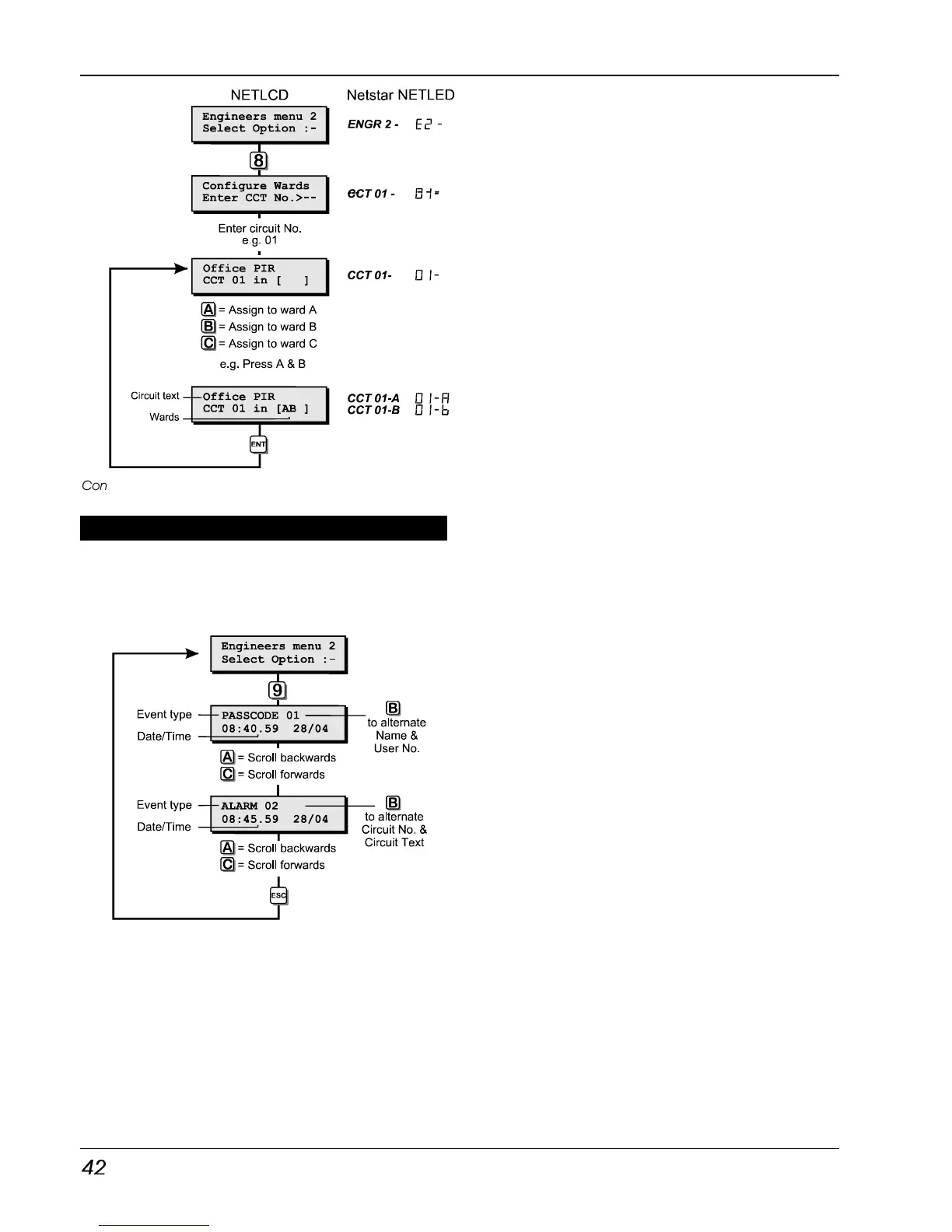
Configure Wards Flowchart
View System Log [2.9]
The engineer can use this option to view the
system log. The [A] and [C] keys allow you to
scroll backwards and forwards through the log
events.
View System Log Flowchart

Table of Contents

Related product manuals