EasyManua.ls Logo

Menvier Security TS900+ - Engineers Menu 1; Setting Modes; Do System Print; Remote Reset Algorithm

Menvier Security TS900+
70 pages
Print Icon
To Next Page IconTo Next Page
To Next Page IconTo Next Page
To Previous Page IconTo Previous Page
To Previous Page IconTo Previous Page
Loading...
Engineer’s Menu 1 TS790+ & TS900+ Installation Manual
34
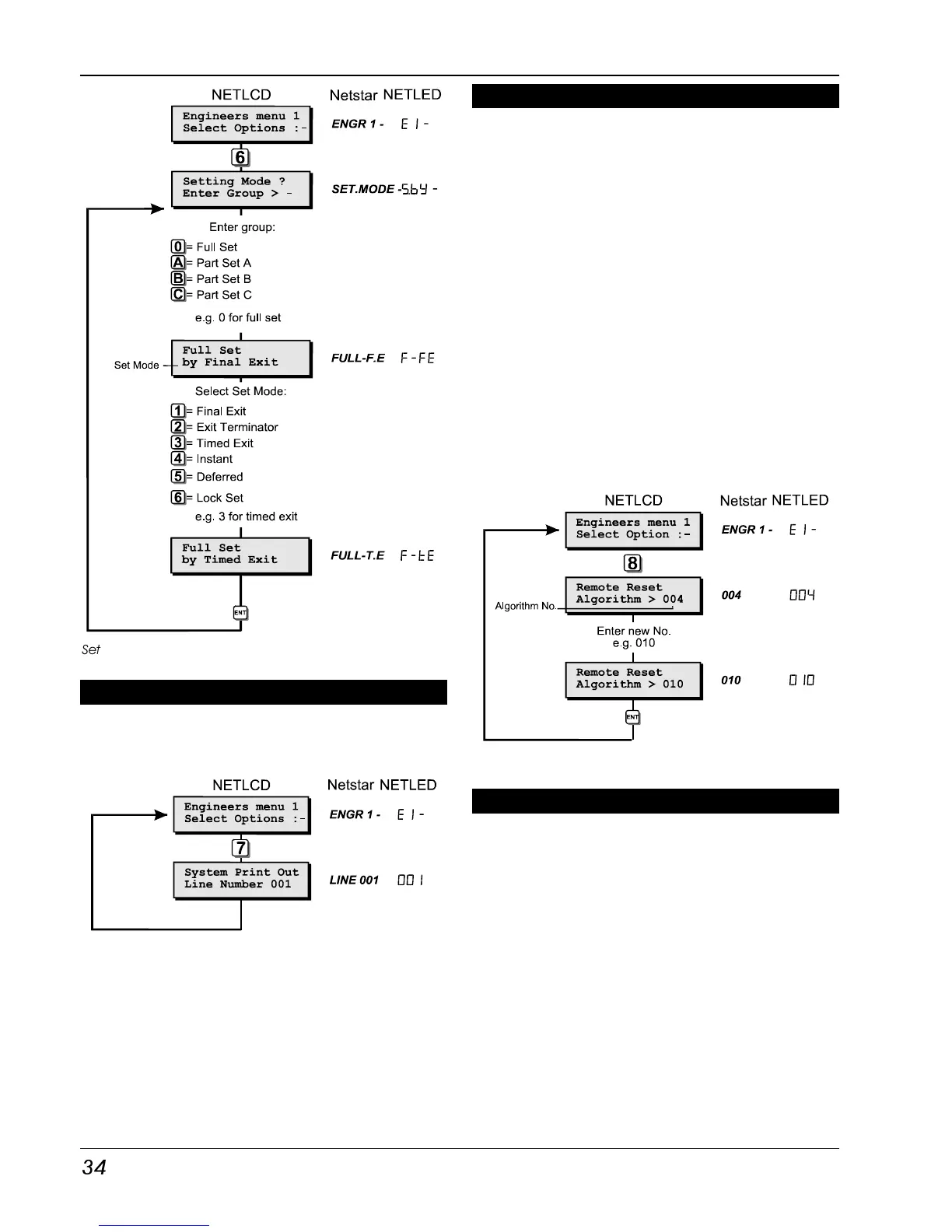
Setting Modes Flowchart
Do System Print [1.7]
If a printer is connected to the control panel a
print out of all system parameters can be
obtained.
System Print Flowchart
Remote Reset Algorithm [1.8]
When the system is programmed for “Engineer
Reset” the requirement to send an engineer to
site can be overridden by the user by using the
“Remote Reset” facility. If an alarm is generated
the system will respond with a four digit “seed
code which the user quotes to the Alarm
Receiving Centre or alarm company. The
“seed” code is then entered into a decoder
and a unique “Remote Reset” code is
generated. This is passed back to the user and
on entering the “Remote Reset” code, the
system is reset.
The “Remote Reset” code is generated using an
algorithm identified by a 3 digit number.
Alternative algorithms can be selected but
these must correspond to that used by the ARC
(or alarm company) otherwise the “Remote
Reset” code will be incorrect. (Default = 004)
Remote Reset Algorithm Flowchart
Configuration [1.9]
The configuration options are as follows:
00 Bell Is an SAB
When programmed as “Yes” the control
panel bell output applies 0V when active.
When programmed as “No” the control
panel bell output removes 0V when active.
(Default = Yes)
01 User 1 Limited
When programmed as “Yes” user 1 is
disabled from options 6 and 8 in user menu
2 , and all options in user menu 3. When
programmed as “No” user 1 has access to
all user menus and options. (Default = No)

Table of Contents

Related product manuals