EasyManua.ls Logo

Menvier Security TS900+ - Engineers Menu 2; View Circuits; Set System Time; Set System Date

Menvier Security TS900+
70 pages
Print Icon
To Next Page IconTo Next Page
To Next Page IconTo Next Page
To Previous Page IconTo Previous Page
To Previous Page IconTo Previous Page
Loading...
TS790+ & TS900+ Installation Manual Engineer’s Menu 1
37
for an intruder alarm as normal. If a
subsequent zone is triggered within the
same set period then the Digicom reports
Channel 7 (011 Confirmed Alarm). The ARC
operator can now inform the appropriate
police authority that the alarm is confirmed
and that this is likely to be a real break in
and not a false alarm.
When programmed as "No" then both Alarm
Confirmation and all Confirmed Alarm
outputs are disabled.
(Default = Yes)
29 Entry Keypad Lock
When programmed as "Yes" then users
cannot unset the system from a keypad
during entry. Program this option as "Yes" if
you are installing a DD243:2002 compliant
system and the user must unset the system
with a proximity detector ("Portable ACE").
The user must employ a proximity tag to
disarm the system during the entry period.
When programmed as "No" then users can
unset the system from a keypad during
entry.
(Default = No)
30 Tamp as Burg
DD243: 2002 states that alarm signals and
confirmation signals must be transmitted
using certain codes. In some case these
codes do not conform to Cooper Security
Ltd’s implementation of the CID standard.
This option allows you to program the control
unit to send tampers as alarm.
When programmed as "Yes" then the control
unit sends tampers to the ARC as Intruder
Alarm (CID 130). In Fast Format the control
unit transfers the Digicom Tamper output
(default output 8) to the Digicom Alarm
output (default output 3).
When programmed as "No" the control unit
sends all messages as specified in Report
Mode.
(Default = No)
31 Unconf User Rst
When programmed as "Yes" then users can
reset the system after an unconfirmed
alarm. When programmed as "No" then an
engineer or the ARC must reset the system
after an unvonfirmed alarm.
(Default = "Yes")
32 Keypad PA On
Whe programmed as "Yes" then the user
can start a PA alarm by pressing keys 1 and
3 at the same time. Program as "No" to
remove this option.
(Default = "No".)
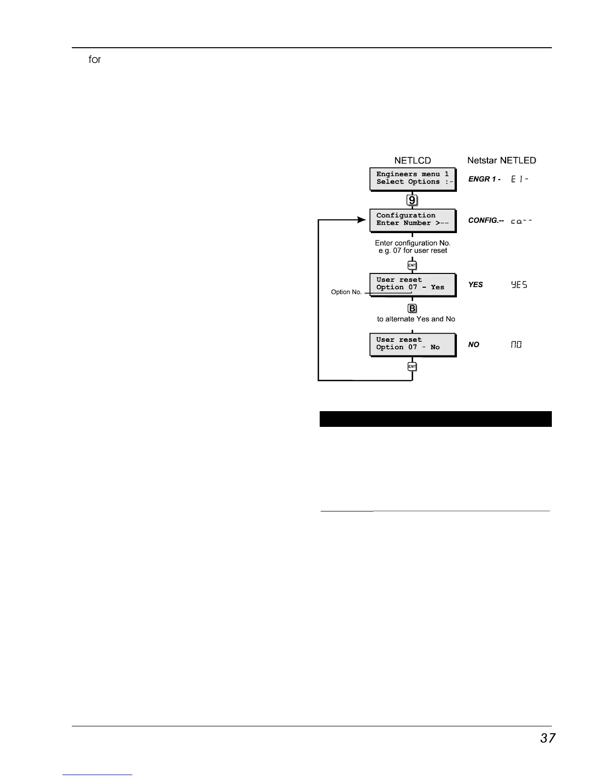
Configuration Flowchart
Goto User Menu 1 [1.0]
This option allows the engineer to access “User
menu 1", the flowchart below shows the options
within ”User menu 1", for full details refer to the
"Operators Manual".
Menu contents
Hotkey Option
1
Bell Test
2
Walk Test
3
Remote Reset
4
Change Passcode
5
Enable Chime
6
Omit 24hr Group
7
Omit Circuits
8
Silent Set
9
View Activity Count
0
Full Set
A
Part Set A
B
Part Set B
C
Part Set C

Table of Contents

Related product manuals