EasyManua.ls Logo

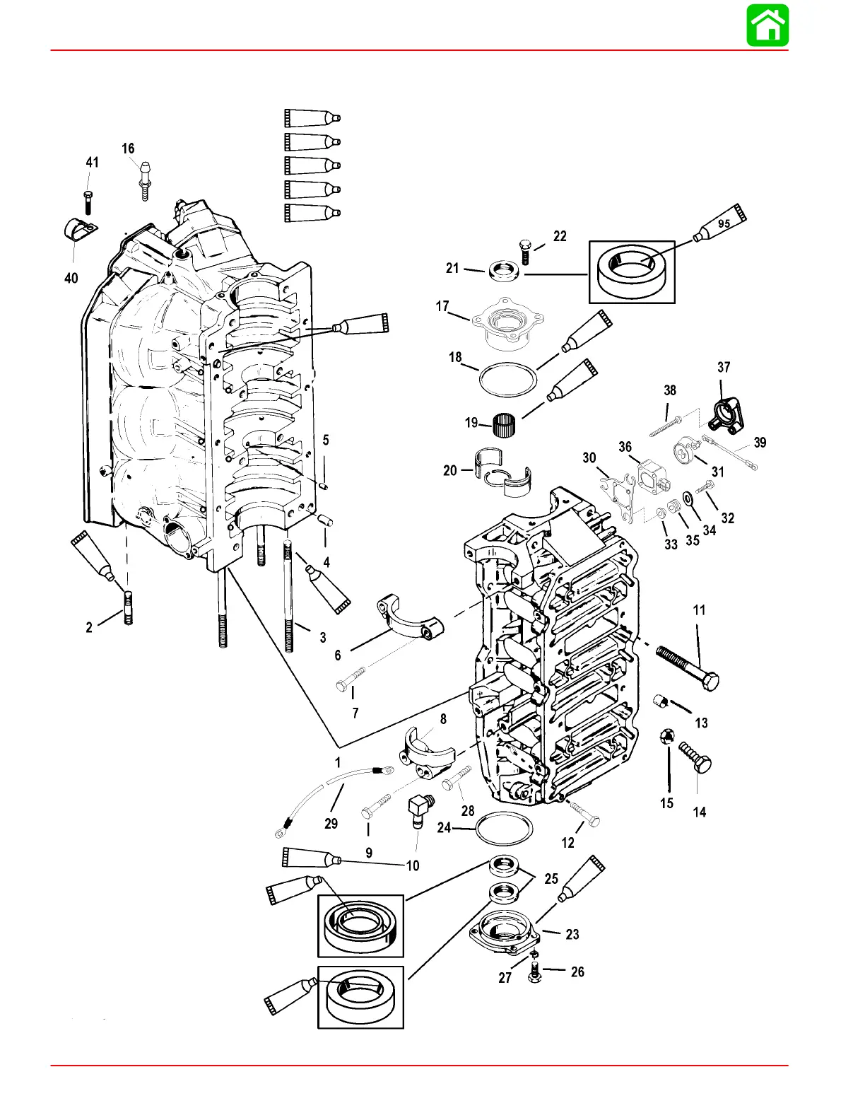
Mercury 175 EFI - Cylinder Block Assembly

Mercury 175 EFI
631 pages
Print Icon
To Next Page IconTo Next Page
To Next Page IconTo Next Page
To Previous Page IconTo Previous Page
To Previous Page IconTo Previous Page
Loading...
POWERHEAD
Page 4A-6 90-883728 JULY 2001
Cylinder Block Assembly
Loctite PST Pipe Sealant
9
12
Loctite Master Gasket
14
2 Cycle Outboard Oil
Loctite 680
33
95
2-4-C with Teflon
95
95
95
95
14
12
33
33
9

Table of Contents

Related product manuals