EasyManua.ls Logo

Midway Blitz - Operator Controls

Default Icon
57 pages
Print Icon
To Next Page IconTo Next Page
To Next Page IconTo Next Page
To Previous Page IconTo Previous Page
To Previous Page IconTo Previous Page
Loading...
OPERATOR CONTROLS
Access to the menu System for
stattstrcs,
adjustments, or testing is secured by lock and key to prevent
tampering. When the menu system is entered, on screen messages guide the operator through tasks.
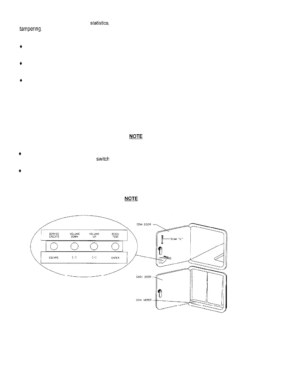
CABINET SWITCHES
+
Power Switch
The Power Switch turns off the game during service. It does not reset the game variables.
+
Slam Tilt Switch
The Slam Tilt switch prevents game abuses such as pounding to obtain free games.
+
Monitor Remote Adjustments (inside the cabinet under the monitor)
The Monitor Remote Adjustment Board sets the video display for optimum viewing.
CONTROL SWITCHES
l Volume Down and Volume Up Buttons
The Volume Down and Volume Up push-button switches increase or decrease game sound levels.
Press either button briefly to make minor changes. Press and hold a button to make major changes.
Volume may also be changed with the joysticks and buttons when the menu system is active.
For greater profits, adjust your volume levels to a loud setting to draw attention to this game.
+
Service Credit Button
The Service Credit push-button
swrtch
allots credits without changing the game’s bookkeeping total.
+
Begin Test Button
The Begin Test push-button switch enters the menu system. Press the Begin Test button briefly to run
the automatic tests. Press and hold the Test button to get to any of the menu selections. The Test
Mode may also be entered by setting one of the CPU Board switches (refer to DIP-Switch Test).
The coin door must be open to reach the control switches.
TYPICAL CONTROL SWITCH LOCATIONS
2-4

Related product manuals