EasyManua.ls Logo

Midway Blitz - Inspection Checklist

Default Icon
57 pages
Print Icon
To Next Page IconTo Next Page
To Next Page IconTo Next Page
To Previous Page IconTo Previous Page
To Previous Page IconTo Previous Page
Loading...
Recommended tools and supplies
[
]
black semi-gloss paint
[
]
electric drill and wood drill
brt
set
[
]
screwdrivers
[
]
lrquid
soap (drshwashing detergent)
[
]
grease pencil or marker
[
]
nut drivers or socket wrench set
[
]
180 grit sandpaper or electric sander
[
]
wood filler material (putty, glue, board, etc )
[
]
black electrical tape
[
]
small screw assortment
[
]
razor
knrfe
[
]
squeegeeorsoftsponge
{-} soldering i&~-and solder-
~~~~
[
]
wire cutters
[
]
pliers
[
]
hole saw or equivalent
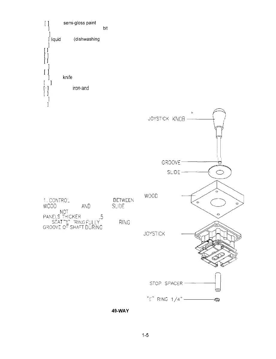
JOYST,CK KNOB
iI
I
RING
G330VE
COVER SLID%
=&
NOTES:
WOO0 SPACER
“.
CONTRO-
PANEL FITS IN BETWEEb.
W03D
SPACER PhD COVEK
‘9IDE
2. DO NDT USE WOOD SPACE? FCR
PAKELS
XZKER
THAN
.5
IN. (13MM)
3. SLAT
r
RIkG FllLLY IN RlluG
G?OOV:
C’
SHA’T
DJRING
REASSEMBLY
JO”STlCK
BASE
“E”
RING
l/4”
*
49-WAY JOYSTICK ASSEMBLY
I-5

Related product manuals