EasyManua.ls Logo

Miele DGC 6300 - Installation with Standard Oven Requirements

Miele DGC 6300
160 pages
Print Icon
To Next Page IconTo Next Page
To Next Page IconTo Next Page
To Previous Page IconTo Previous Page
To Previous Page IconTo Previous Page
Loading...
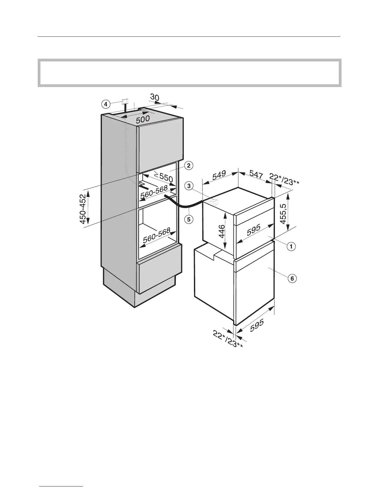
Building-in dimensions
151
Installation in a tall unit in combination with an oven
The furniture housing unit must not have a back panel fitted behind the
building-in niche.
a
Steam oven
b
Niche
c
Inlet for mains connection cable to the appliance
d
Recommended position for electrical socket. Important: Do not position behind
the appliance.
e
Mains connection cable
f
Oven
*Glass front / **metal front

Table of Contents

Related product manuals