EasyManua.ls Logo

Mitsubishi FX3G Series

Mitsubishi FX3G Series
944 pages
To Next Page IconTo Next Page
To Next Page IconTo Next Page
To Previous Page IconTo Previous Page
To Previous Page IconTo Previous Page
Loading...
554
FX3G/FX3U/FX3GC/FX3UC Series
Programming Manual - Basic & Applied Instruction Edition
20 Positioning Control – FNC150 to FNC159
20.8 FNC159 – DRVA / Drive to Absolute
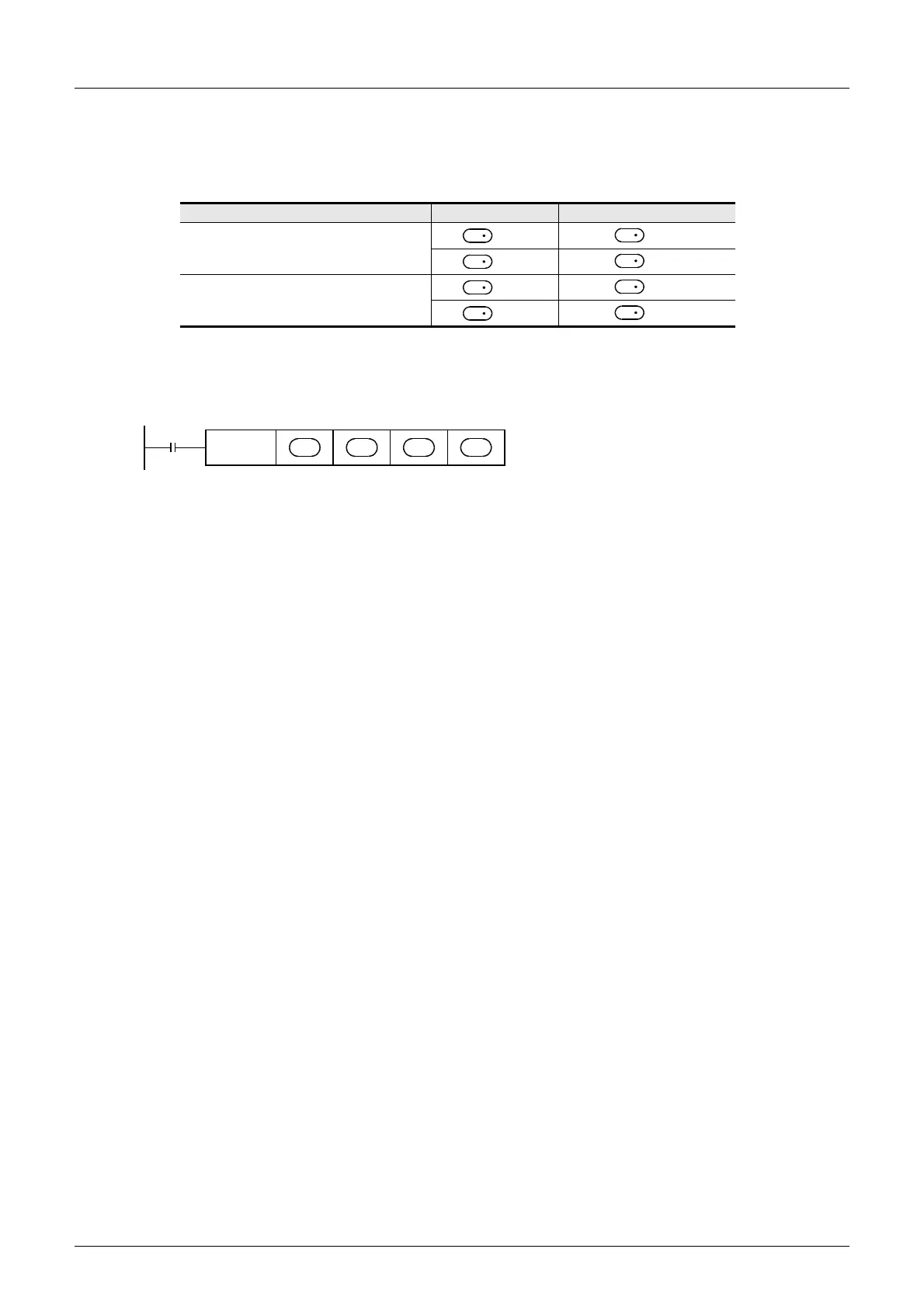
S2 : When using a special high-speed output adapter for the pulse output destination in an FX3U PLC, the rotation
direction signal must be used by the following table output.
When using a built-in transistor output for the pulse output destination in an FX
3G/FX3U/FX3GC/FX3UC PLCs, the
rotation direction signal must use transistor output.
S3:"Dîš….b" is available only in FX3U and FX3UC PLCs. However, index modifiers (V and Z) are not available.
S4 : This function is supported only in FX3U/FX3UC PLCs.
Explanation of function and operation
Caution on writing during RUN
During RUN, avoid writing while DRVA (FNC159) instruction is executed (that is, while pulses are output).
Note that if writing is executed during RUN to a circuit block including FNC159 instruction while pulses are output, the
PLC decelerates and stops pulse output.
Special high-speed output adapter No. Pulse output Rotation direction output
No. 1 (1st unit)
=Y000
=Y004
=Y001
=Y005
No. 2 (2nd unit)
=Y002
=Y006
=Y003
=Y007
D
1
D
2
D
1
D
2
D
1
D
2
D
1
D
2
Command
input
FNC159
DRVA
S
1
îš‚
S
2
îš‚
D
1
îš‚
D
2
îš‚

Table of Contents

Other manuals for Mitsubishi FX3G Series

Related product manuals