EasyManua.ls Logo

Mitsubishi MELSEC-A series - Page 85

Mitsubishi MELSEC-A series
508 pages
Print Icon
To Next Page IconTo Next Page
To Next Page IconTo Next Page
To Previous Page IconTo Previous Page
To Previous Page IconTo Previous Page
Loading...
5. SEQUENCE INSTRUCTIONS
5 16
MELSEC-A
OUT (T)
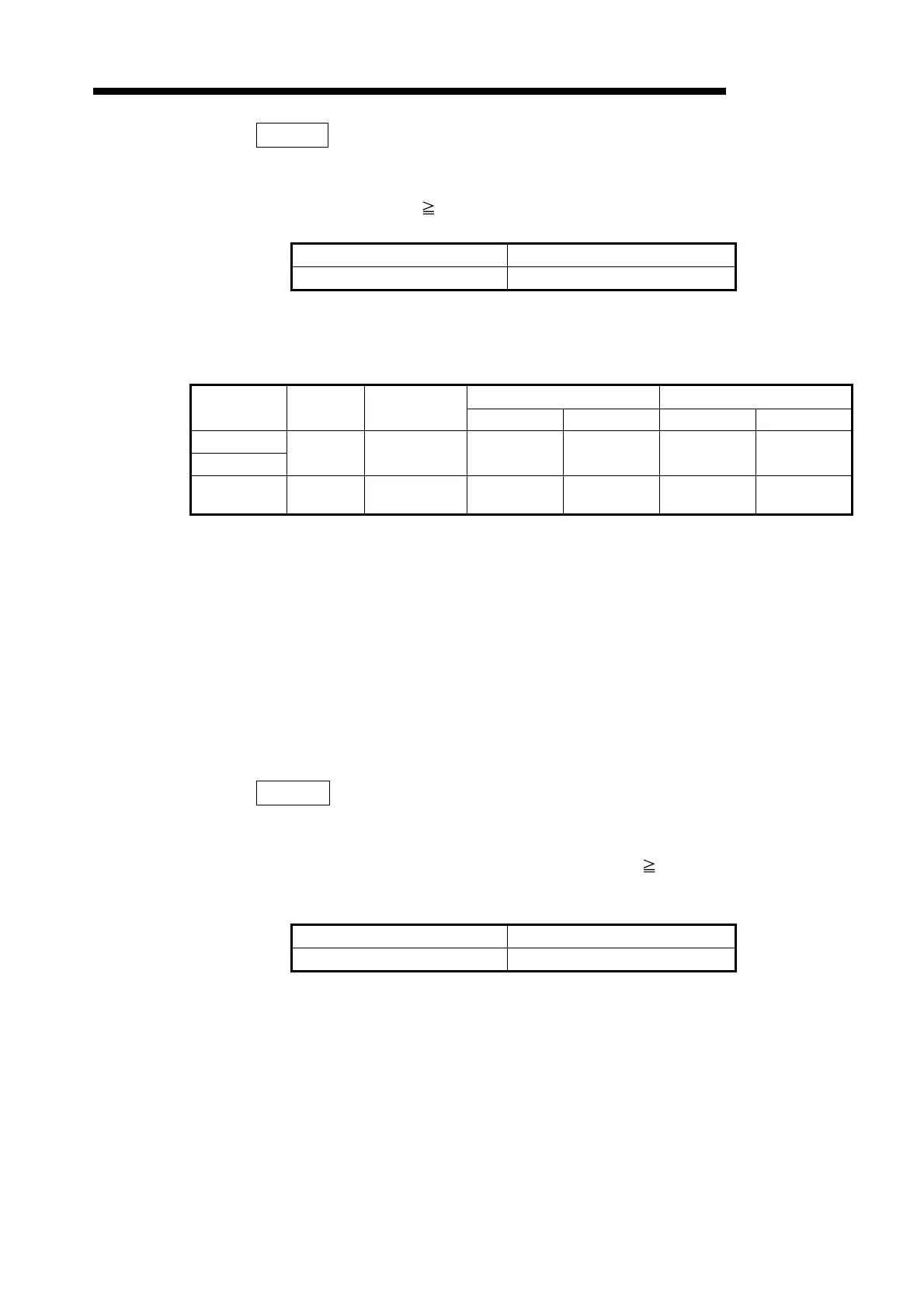
(1) When the operation result of instructions preceding the OUT instruction are on,
the coil of timer turns on and counts up to the set value. When the timer times
out (counted value
set value), the contact is as indicated below.
NO contact Continuity
NC contact Non-continuity
(2) When the operation result of instructions preceding the OUT instruction change
from ON to OFF, the following occurs.
Before TIme Out After Time Out
Type of Timer Timer Coil
Present Value
of Timer
NO contact NC contact NO contact NC contact
100ms timer
10ms timer
OFF 0 Non-continuity Continuity Non-continuity Coninuity
100ms
retentive timer
OFF
Present value
is retained
Non-continuity Continuity Continuity Non-continuity
(3) After the timer has timed out, the status of the contact of an retentive timer does
not change until the RST instruction is executed.
(4) If T256 to T2047 are used with the AnA, A2AS, AnU, QCPU-A (A Mode) and
A2USH board specify set values as described in Section 3.8.3.
(5) A negative number (-32768 to -1) cannot be set as a set value.
(6) When a set value is 0, it is regarded as infinite, and therefore, the timer does not
reach time out.
(7) For the counting process of timers, refer to the ACPU Programming Manual
(Fundamentals).
OUT (C)
(1) When the operation result of the instructions preceding the OUT instruction
have changed from OFF to ON, 1 is added to the present value (count value).
When the counter has counted out (counted value
set value), the state of the
contact is as indicated below.
NO contact Continuity
NC contact Non-continuity
(2) When the operation result of the instructions preceding the OUT instruction
remain on, counting is not performed. (It is not necessary to convert the count
input into a pulse.)
(3) After the counter has counted out, the count value and the status of contact do
not change until the RST instruction is executed.
(4) If C256 to C1023 are used with the AnA, A2AS, AnU, QCPU-A (A Mode) and
A2USH board, specify set values as described in Section 3.8.3.

Table of Contents

Other manuals for Mitsubishi MELSEC-A series

Related product manuals