EasyManua.ls Logo

MT Vision HS-220 - 4 Betrieb

MT Vision HS-220
Print Icon
To Next Page IconTo Next Page
To Next Page IconTo Next Page
To Previous Page IconTo Previous Page
To Previous Page IconTo Previous Page
Loading...
4. Betrieb
06 DEUTSCH
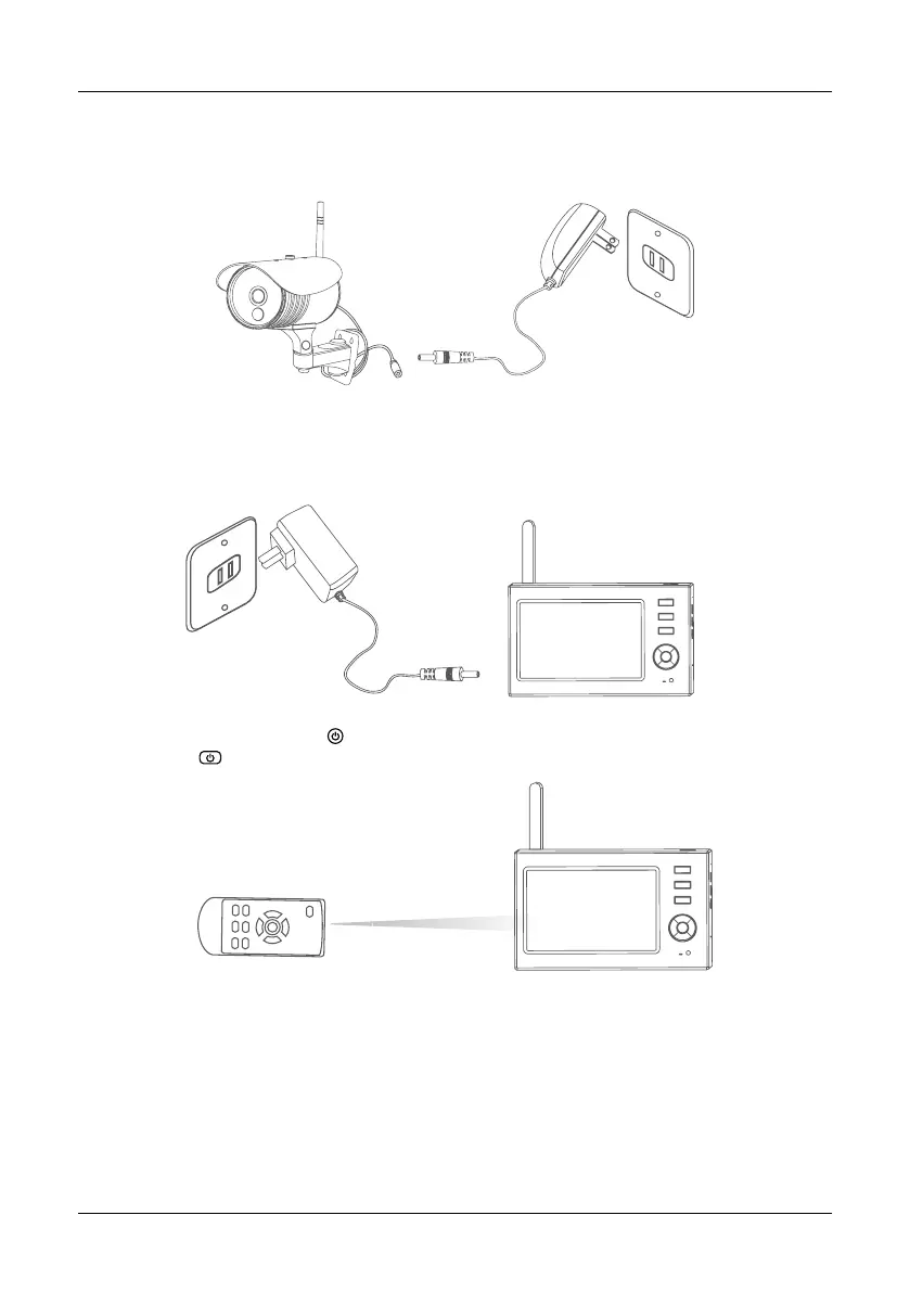
1. Schließen Sie die Kamera an die Stromversorgung an. Anschließend leuchtet die Stromanzeige
auf der Rückseite der Kamera auf.
2. Verbinden Sie den Monitor mit dem Netzeil. Der Monitor besitzt einen integrierten, wieder-
aufladbaren Akku, Wenn der Akku aufgebraucht ist, verwenden Sie die Dockingstation um ihn
wieder aufzuladen.
3. Drücken Sie den Netzschalter auf der Empfängerseite für 2 Sekunden. Die Betriebsanzeige ist
eingeschaltet und das Betriebsbild erscheint.
4. Koppeln Sie die Kameras mit dem Empfänger (maximal vier Kameras können gleichzeitig betrie-
ben werden). Das Koppeln ist standardmäßig eingestellt. Sollte die Verbindung nicht funktionieren,
lesen Sie bitte unter „Kopplung (Pairing)“ auf Seite 18.

Table of Contents