EasyManua.ls Logo

Nokia RM-484 - Page 124

Nokia RM-484
232 pages
Print Icon
To Next Page IconTo Next Page
To Next Page IconTo Next Page
To Previous Page IconTo Previous Page
To Previous Page IconTo Previous Page
Loading...
RM-484; RM-485; RM-486
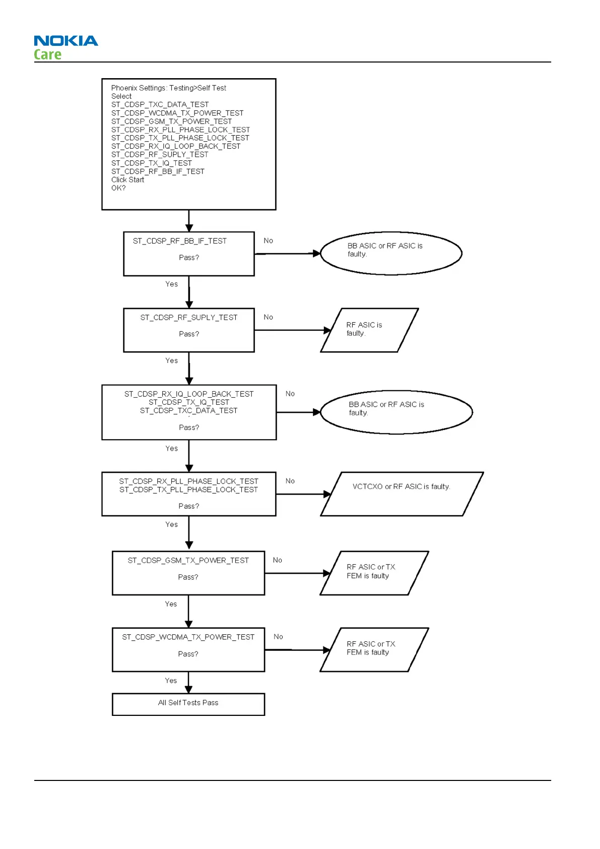
RF Troubleshooting
Page 4 –8 COMPANY CONFIDENTIAL Issue 1
Copyright © 2009 Nokia. All rights reserved.

Table of Contents

Related product manuals