EasyManua.ls Logo

NPK GH1 - Storage of Hydraulic Hammer

Default Icon
121 pages
Print Icon
To Next Page IconTo Next Page
To Next Page IconTo Next Page
To Previous Page IconTo Previous Page
To Previous Page IconTo Previous Page
Loading...
- 110 -
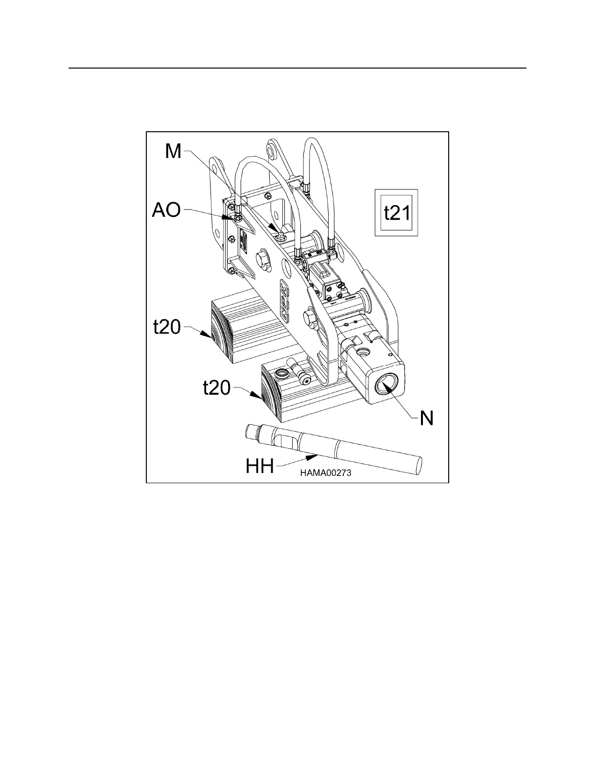
STORAGE OF HYDRAULIC HAMMER
For short term storage between jobs, place the hammer horizontal on wood blocks
(t20). Be sure the tool (HH) is liberally greased and the hydraulic hoses (AO) are
capped. Cover with a waterproof tarp (t21), not shown.
If the NPK HYDRAULIC HAMMER is not to be used for a long period of time (months),
it is recommended the nitrogen gas be discharged through the gas charge valve (M).
The tool (HH) should be removed, and the piston (not shown) pushed all the way in. Be
sure the hydraulic hoses (AO) are plugged, and grease the exposed end of the piston
(N). Cover with a waterproof tarp (t21), not shown.

Table of Contents

Other manuals for NPK GH1

Related product manuals