EasyManua.ls Logo

Omron NT31 - Page 80

Omron NT31
313 pages
To Next Page IconTo Next Page
To Next Page IconTo Next Page
To Previous Page IconTo Previous Page
To Previous Page IconTo Previous Page
Loading...
63
Connecting to the RS-232C Port at the Host Section 4-1
Setting the DIP Switches on the Front of a C200HX/HG/HE(-Z)E, CQM1,
CQM1H
When using a C200HX/HG/HE(-Z)E, CQM1, or CQM1H, the DIP switches on
the front panel must be set as shown below in order to make the settings in
the PLC Setup area (data memory) effective.
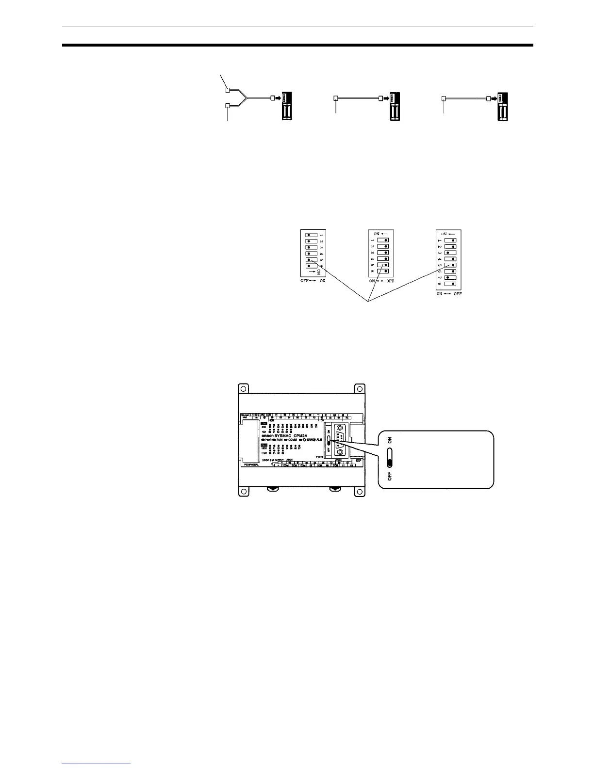
Setting the Switches of a CPM2A
When using a CPM2A, the switches on the front panel must be set as shown
below in order to make the PLC Setup settings effective.
Setting the Switches of a CPM2C
When using a CPM2C, the switches on the front panel must be set as shown
below in order to make the PLC Setup settings effective.
Peripheral port
CPM2C-CN111
CPM2C
CS1W-CN118
CPM2C
Peripheral port
CS1W-CN114
CPM2C
RS-232C port
(D-Sub 9-pin, female)
RS-232C port
(D-Sub 9-pin, female)
C200HX/HG/HE(-Z)E
CQM1 CQM1H
RS-232C port communications condition
setting Set DIP SW5 to OFF to make the
settings made in PLC Setup effective.
Set the Communications
switch to OFF (down
position).

Table of Contents

Other manuals for Omron NT31

Related product manuals