EasyManua.ls Logo

Omron Q2A-A4031-AAA - Page 50

Omron Q2A-A4031-AAA
844 pages
To Next Page IconTo Next Page
To Next Page IconTo Next Page
To Previous Page IconTo Previous Page
To Previous Page IconTo Previous Page
Loading...
2.8 Change the Drive Enclosure Type
50 SIEPYEUOQ2A01A AC Drive Q2A Technical Manual
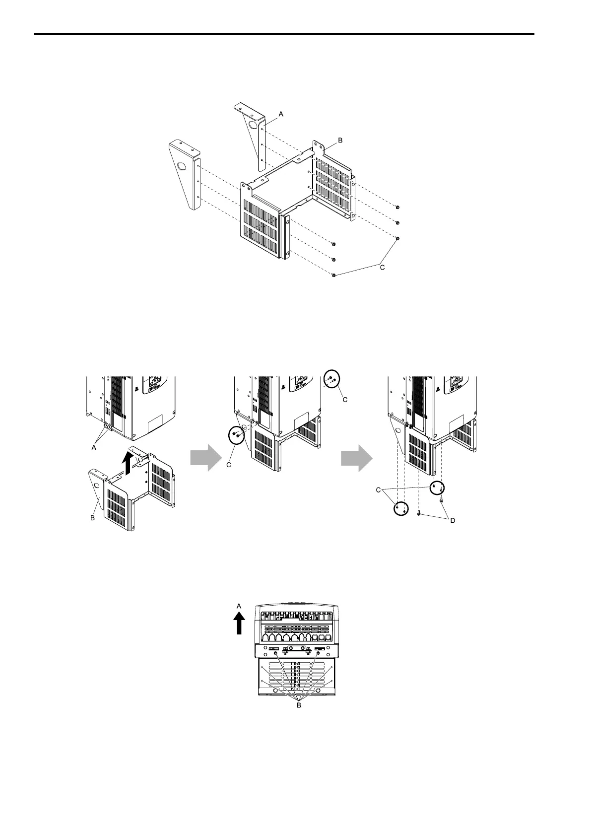
Attach the Conduit Bracket
1. Align the screw holes on the stay bracket with the screw holes on the base. Tighten the included screws to
a tightening torque of 0.98 Nm to 1.33 Nm(8.67 lb.in. to 11.77 lb.in.) to attach the stay bracket to the
base.
A - Stay bracket
B - Base
C - Screw
Figure 2.43 Assemble Conduit Bracket 1
2. Align the screw holes on conduit bracket 1 with the screw holes on the drive.
Tighten the included screws to a tightening torque of 3.92 Nm to 4.90 Nm (34.70 lb.in. to 43.37 lb.in.) to
attach the bracket to the drive.
A - Screw holes on sides
B - Conduit bracket 1
C - Screws A
D - Screws B
Figure 2.44 Attach Conduit Bracket 1
Figure 2.45 shows the locations of the screw holes on the bottom of the drive.
A - Front of drive B - Screw holes on bottom
Figure 2.45 Locations of Screw Holes on Bottom
3. Align the screw holes on conduit bracket 2 with the screw holes on conduit bracket 1.
Tighten the screws to a tightening torque of 0.98 Nm to 1.33 Nm (8.67 lb.in. to 11.77 lb.in.).

Table of Contents

Other manuals for Omron Q2A-A4031-AAA

Related product manuals