EasyManua.ls Logo

Omron R88D-KN series - Page 151

Omron R88D-KN series
570 pages
To Next Page IconTo Next Page
To Next Page IconTo Next Page
To Previous Page IconTo Previous Page
To Previous Page IconTo Previous Page
Loading...
4-37
4 System Design
G5 Series AC Servo Drives With Built-in EtherCAT Communications, Linear Motor Type
4-3 Wiring Conforming to EMC Directives
4
4-3-1 Wiring Method
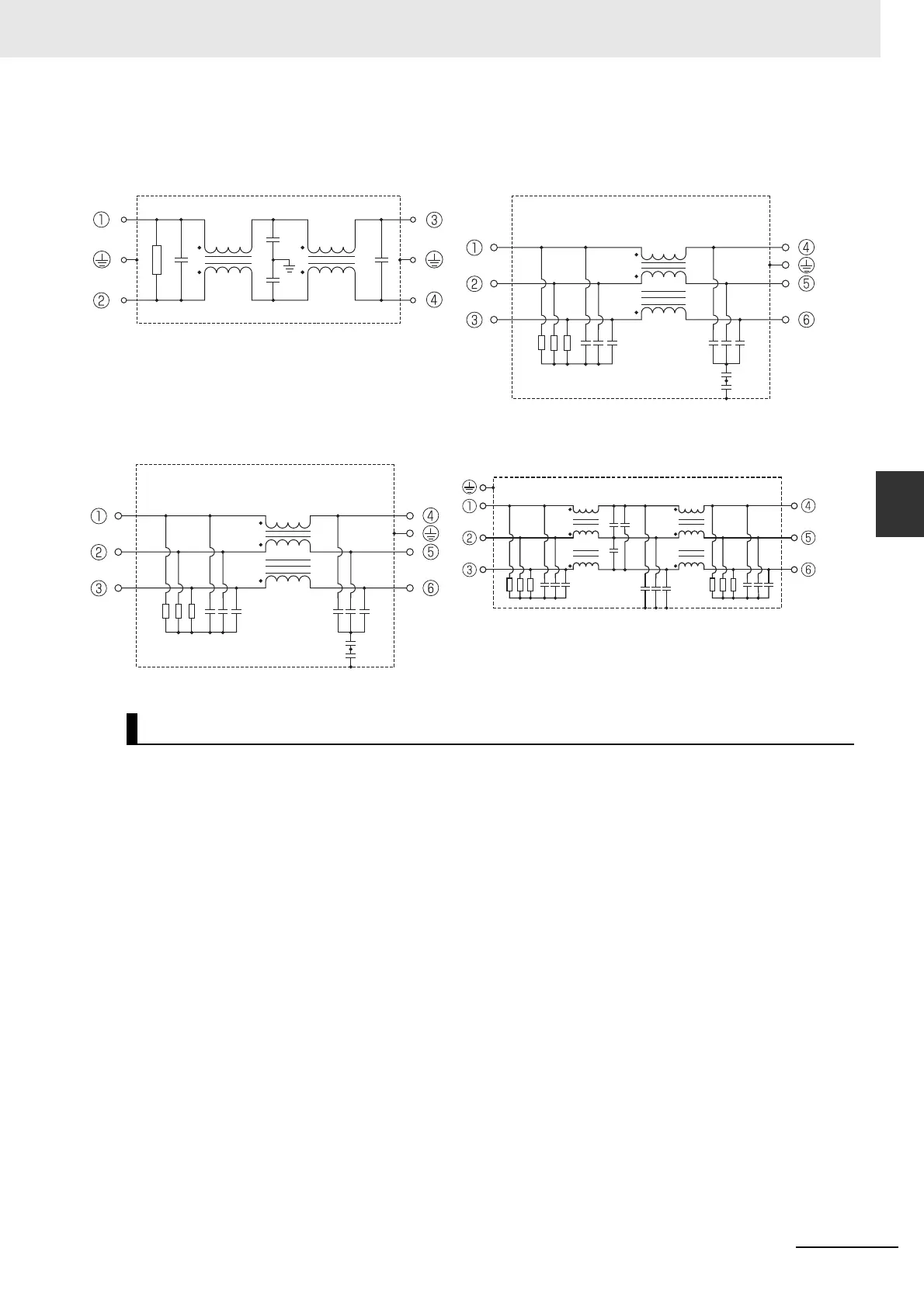
Circuit Diagram
SUP-EK5-ER-6 3SUP-HQ10-ER-6
3SUP-HU30-ER-6 3SUP-HL50-ER-6B
Openings in the control panel, such as holes for cables, panel mounting holes, and gaps around the
door, may allow electromagnetic waves into the panel. To prevent this, observe the recommendations
described below when designing or selecting a control panel.
Case Structure
Use a metal control panel with welded joints at the top, bottom, and sides so that the surfaces are
electrically conductive.
If assembly is required, strip the paint off the joint areas (or mask them during painting), to make
them electrically conductive.
The panel may warp and gaps may appear when screws are tightened. Be sure that no gaps
appear when tightening screws.
Do not leave any conductive part unconnected.
Ground all units within the case to the case itself.
Control Panel Structure
CxR
Cy
Cy
Cx
LL
Cx1Cx1R
L1
Cy1
OUTIN
Cx1Cx1R
L1
Cy1
OUTIN
LOADLINE

Table of Contents

Related product manuals