EasyManua.ls Logo

Omron SYSMAC mini SP10 - End - End(01); Operation - Nop(00); Timers and Counters

Omron SYSMAC mini SP10
176 pages
Print Icon
To Next Page IconTo Next Page
To Next Page IconTo Next Page
To Previous Page IconTo Previous Page
To Previous Page IconTo Previous Page
Loading...
81
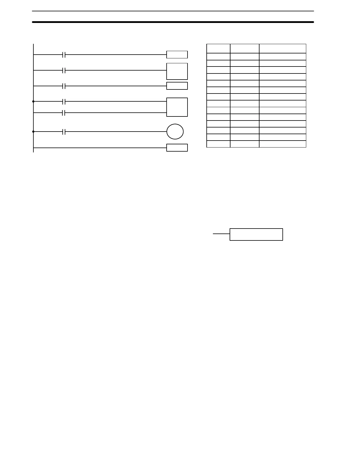
The following diagram shows IL(02) being used twice with one ILC(03).
0000
0001
ILC(03)
IL(02)
0005
0003
0002
IL(02)
0102
CP
R
CNT 01
#0150
0004
Address Instruction Operands
000 LD 0000
001 IL(02)
002 LD 0001
003 TIM 00
# 0015
004 LD 0002
005 IL(02)
006 LD 0003
007 LD 0004
008 CNT 01
# 0150
009 LD 0005
010 OUT 0102
011 ILC(03)
TIM 00
#0015
1.5 s
When the execution condition for the first IL(02) is OFF, TIM 00 will be reset
to 1.5 s, CNT 01 will not be changed, and 0102 will be turned OFF. When the
execution condition for the first IL(02) is ON and the execution condition for
the second IL(02) is OFF, TIM 00 will be executed according to the status of
0001, CNT 01 will not be changed, and 0102 will be turned OFF. When the
execution conditions for both the IL(02) are ON, the program will execute as
written.
3-7-11 END - END(01)
Ladder Symbol
END(01)
END(01) is required as the last instruction in any program. No instructions
written after END(01) will be executed. END(01) can be placed anywhere in
the program to execute all instructions up to that point, as is sometimes done
to debug a program, but it must be removed to execute the remainder of the
program.
If there is no END(01) in the program, no instructions will be executed and
the error message NO END INST will appear.
END(01) turns OFF the ER, CY, GR, EQ, and LE flags.
3-7-12 NO OPERATION - NOP(00)
NOP(00) is not generally required in programming and there is no ladder
symbol for it. When NOP(00) is found in a program, nothing is executed and
program execution moves to the next instruction. When memory is cleared
prior to programming, NOP(00) is written at all addresses. NOP(00) can be
input through the 00 function code.
There are no flags affected by NOP(00).
3-7-13 Timers and Counters
TIM and TIMM(20) are decrementing ON-delay timer instructions which re-
quire a TC number and a set value (SV). The TIM SV is input to the tenths of
a second; the TIMM(20) SV is input to the hundredths of a second.
Example
Description
Flags
Description
Flags
Instruction Set Section 3-7

Table of Contents

Related product manuals